球磨机简图

一种用于石英砂研磨的球磨机的制作方法
图片尺寸434x444
一种内齿轮型立式行星球磨机
图片尺寸1621x1446
厂家供应小型球磨机 陶瓷球磨机 陶瓷球磨机价格
图片尺寸800x404
cn204036230u_球体自动研磨机失效
图片尺寸1000x781
一种高效球磨机
图片尺寸1936x1381
大型铁矿石球磨机工作原理厂家及价格介绍
图片尺寸600x450
一种高效磁悬浮式球磨机的制作方法
图片尺寸910x1000
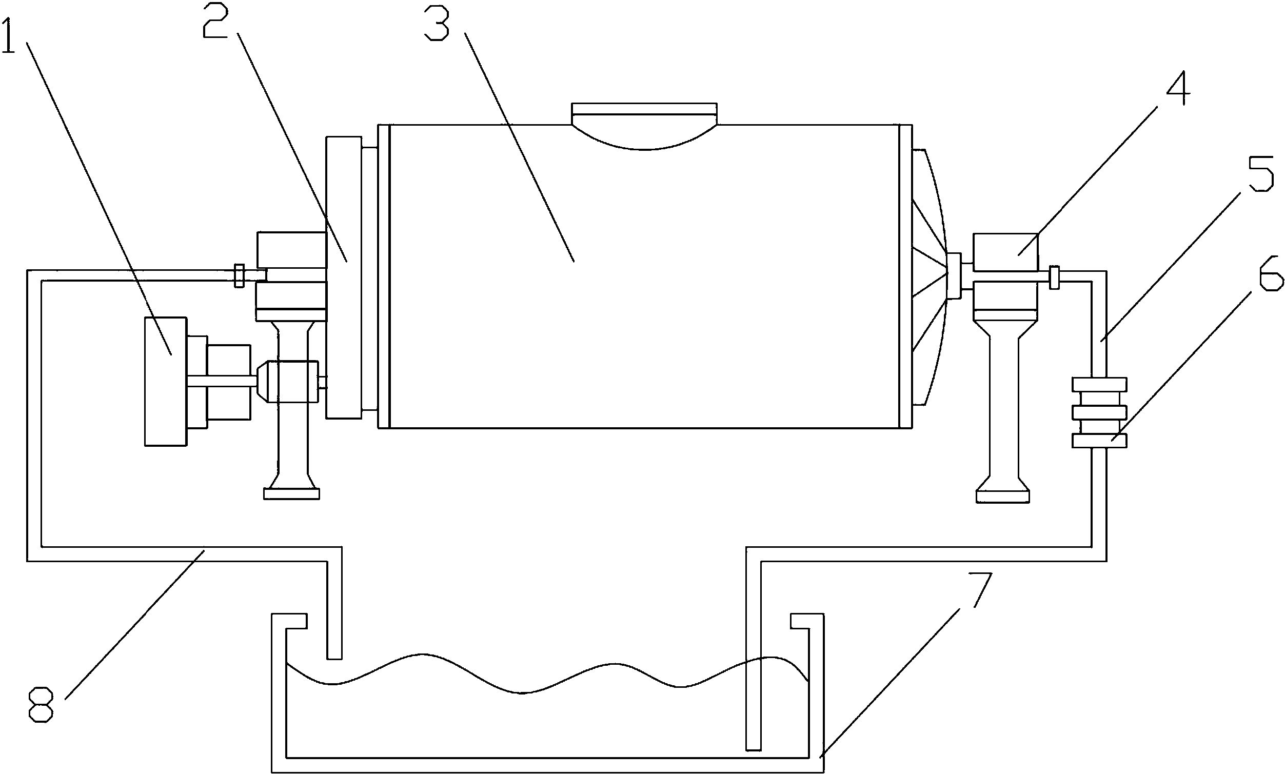
一种球磨机
图片尺寸2505x1509
图8-2 球磨机简图
图片尺寸1331x691
球磨机与棒磨机的区别
图片尺寸600x450
一种球磨机
图片尺寸1754x1956
球磨机结构简图
图片尺寸569x403
一种出料端改进型球磨机的制作方法
图片尺寸1000x682
粉碎设备 实验室磨1公斤矿的锥形球磨机 (xmq240x90)
图片尺寸1023x790
cn2056609u_立式球磨机失效
图片尺寸1178x2000
卧式球磨机的制作方法
图片尺寸1000x782
陶瓷球磨机就是球磨机的衬板是陶瓷制成的球磨机,容量很小一般适用于
图片尺寸444x340
球磨机
图片尺寸628x348
cn2841148y_选矿球磨机失效
图片尺寸2400x1678
介绍球磨机的粉碎过程
图片尺寸434x295