球磨机简笔画

一种行星球磨机的制作方法
图片尺寸406x443
一种气流反吹式内分级球磨机-爱企查
图片尺寸1416x1409
一种日用陶瓷加工用陶瓷球磨机的制作方法
图片尺寸407x443
商标logo
图片尺寸1672x866
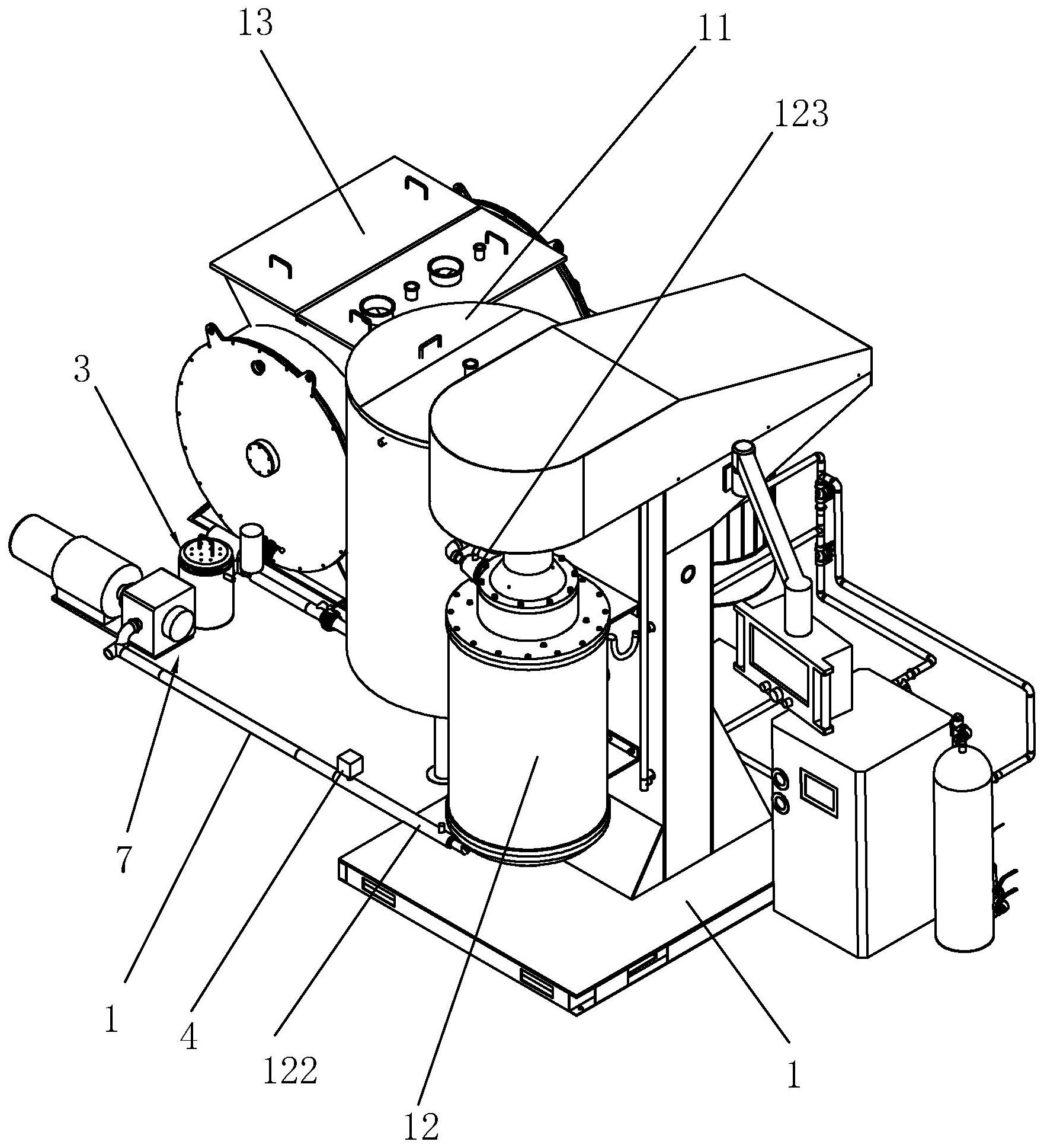
一种用于石墨加工的球磨机-爱企查
图片尺寸1462x2125
一种简易球磨机-爱企查
图片尺寸1497x1462
球磨机-爱企查
图片尺寸1762x1937
一种防堵塞的湿式球磨机-爱企查
图片尺寸738x800
一种高效能低噪声球磨机的制作方法
图片尺寸443x271
一种高效球磨机
图片尺寸1936x1381
一种水泥生产原料用球磨机的制作方法
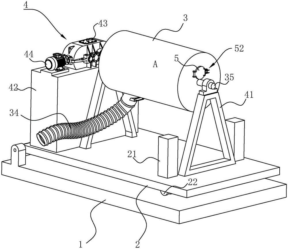
图片尺寸1000x979
一种用于生产重结晶碳化硅的球磨机-爱企查
图片尺寸800x506
一种粉煤灰球磨机的制作方法
图片尺寸578x623
一种方便下料的球磨机
图片尺寸1000x865
商标logo
图片尺寸494x575
一种具有防止磨头吐料功能的球磨机的制作方法
图片尺寸357x273
cn204503223u_一种纳米石英粉体的球磨机失效
图片尺寸1522x1520
一种用于铁氧体加工的原料球磨机的制作方法
图片尺寸1491x1643
一种球磨机的制作方法
图片尺寸1000x897
一种用于钼精粉生产的球磨机的制作方法
图片尺寸324x443