球笼结构图

技术 正文 球笼是等速万向节的一种,其还分为两种结构.
图片尺寸600x471
汽车上的球笼是干什么的如果它损坏了汽车有哪些故障现象
图片尺寸766x571
汽车上的球笼是干什么的?如果它损坏了汽车有哪些故障现象?
图片尺寸403x367
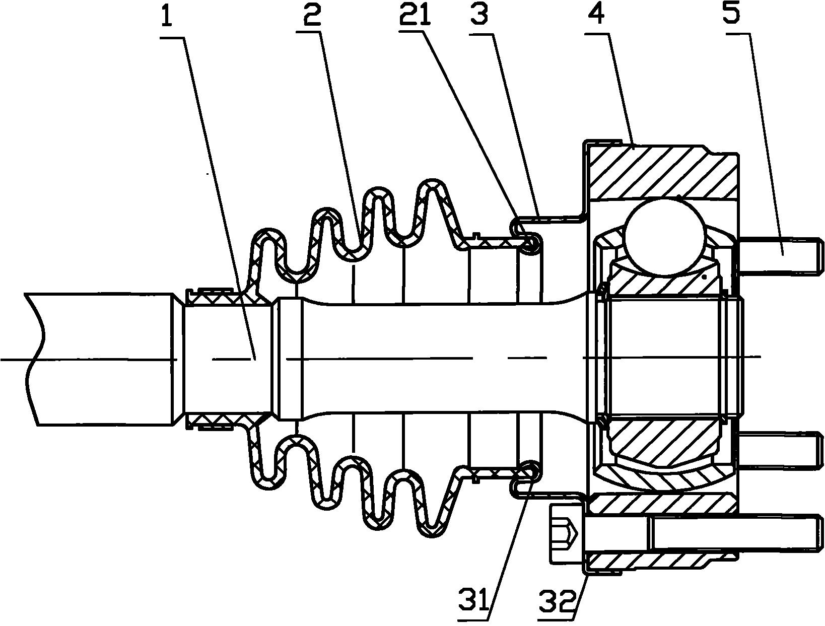
cn201461766u_等速万向节内球笼总成组件有效
图片尺寸1822x1150
扫盲贴何为球笼
图片尺寸568x426
球笼式万向节按其内,外滚道结构的不同又可分为球笼式碗形万向节,球笼
图片尺寸420x246
汽车上的球笼是干什么的?如果它损坏了汽车有哪些故障现象?
图片尺寸500x366
与前面提到的十字轴式万向节相比,球笼式万向节具有等速的特性,能够
图片尺寸720x509
一种大角度球笼式等速万向节
图片尺寸1000x728
cn203627571u_一种驱动轴总成的内球笼有效
图片尺寸1000x567
cn101319694b_钢球十字均布球笼全封闭万向节失效
图片尺寸1683x1169
一种等速万向节内球笼组件改良结构-爱企查
图片尺寸1638x1243
后半轴内球笼(右)
图片尺寸674x519
固定型球笼式万向节的结构是什么样的?
图片尺寸575x358
第5-1讲 万向传动装置
图片尺寸550x332
一种汽车半轴防漏球笼机构-爱企查
图片尺寸800x637
球笼式万向节按其内,外滚道结构的不同又可分为球笼式碗形万向节,球笼
图片尺寸420x428
图2 可轴向移动的球笼等速万向节
图片尺寸347x242
换半轴油封半轴下来了内球笼的外壳怎么拆下来
图片尺寸798x433
球笼式万向节按其内,外滚道结构的不同又可分为球笼式碗形万向节,球笼
图片尺寸408x437