球铰结构

球铰式万向联轴器
图片尺寸572x241
球铰链 (3)止推轴承
图片尺寸1080x810
气磁混合球铰关节及其使用时的装配方法与流程
图片尺寸1000x969
通过小碎路的时候,底盘轻微咕噜咕噜响的原因是这里!平衡杆吊杆
图片尺寸394x347
球铰支座是一种常用于网架结构的钢结构支座,它 - 抖音
图片尺寸750x750
自润型万向转动球铰支座生产安装设计厂家对比价格
图片尺寸709x346
zrqz系列自润球铰支座
图片尺寸700x422
cn101429967b_三自由度,双层油膜式球铰有效
图片尺寸1046x1194
球铰式wjs万向联轴器金属单双节球铰式联轴器大角度传动轴连轴器
图片尺寸790x1256
气磁混合球铰关节的制作方法
图片尺寸1000x969
万向转动抗拉拔球铰支座的结构设计
图片尺寸714x586
t形球铰链
图片尺寸1731x1296
单向弹性球铰支座选用事项与设计参考
图片尺寸816x451
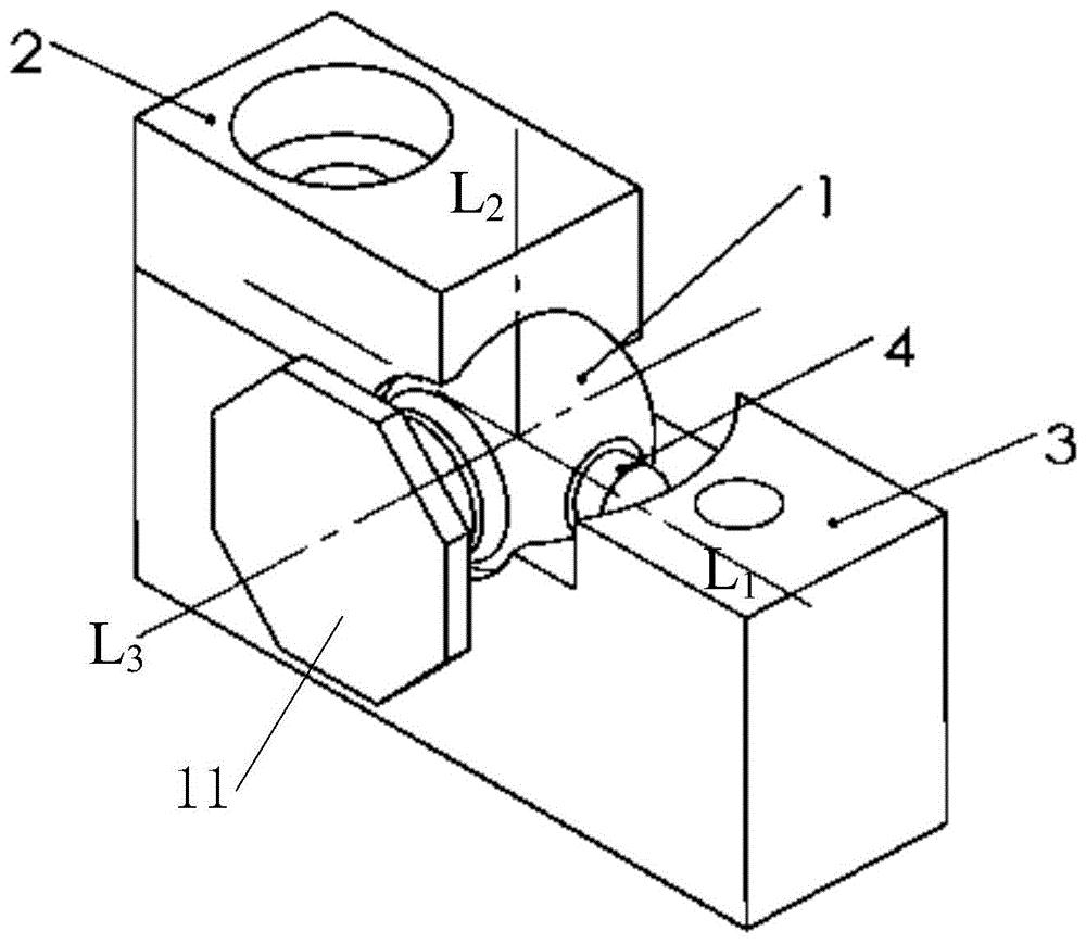
一种复合球铰链
图片尺寸1000x789
一种球铰链
图片尺寸1000x869
球铰链结构如下图所示,在球头的底部嵌入圆柱型永磁体,永磁体的轴线
图片尺寸957x751
供应球形铰链
图片尺寸835x549
一种球铰链空间转角检测方法_cn201910734999.5_知雀网
图片尺寸841x1000
钢结构网架球型支座报价 厂家促销连廊抗震球铰支座球铰钢结构支座
图片尺寸800x800
wzldq型球铰式卷筒联轴器
图片尺寸1680x1260