球铰链原理图解

一种三坐标测量机空气轴承球形铰链结构的制作方法
图片尺寸1000x728
一种复合球铰链的制作方法
图片尺寸1000x789
汽车转向系统的结构和工作原理简介
图片尺寸437x224
悬架球铰链优化设计
图片尺寸486x248
球铰链及汽车横向稳定杆连接杆总成制造技术
图片尺寸1000x744
《机械原理》
图片尺寸1080x810
一种利用转盘球铰进行公路,铁路转体桥梁施工的方法
图片尺寸1910x1450
多自由度并联机器人的制作方法
图片尺寸763x1000
一种球形铰链装配图
图片尺寸300x225
化工污水处理沟渠沟壁除垢技术
图片尺寸1483x975
九成人不知晓蟑螂天敌是啥屋内放个它蟑螂不敢再来了
图片尺寸576x333
开槽球铰链模型
图片尺寸820x461
桥梁转体施工技术概述
图片尺寸654x309
筒式减振器上铰链的中心与横摆臂外端的球铰链中心的连线为主销轴线.
图片尺寸338x511
abaqus里如何模拟球铰支座
图片尺寸345x527
商标logo
图片尺寸1808x1432
和bc 分别重1p 和2p ,其端点a和c用球铰固定在水平面,另一端b由球铰链
图片尺寸502x576
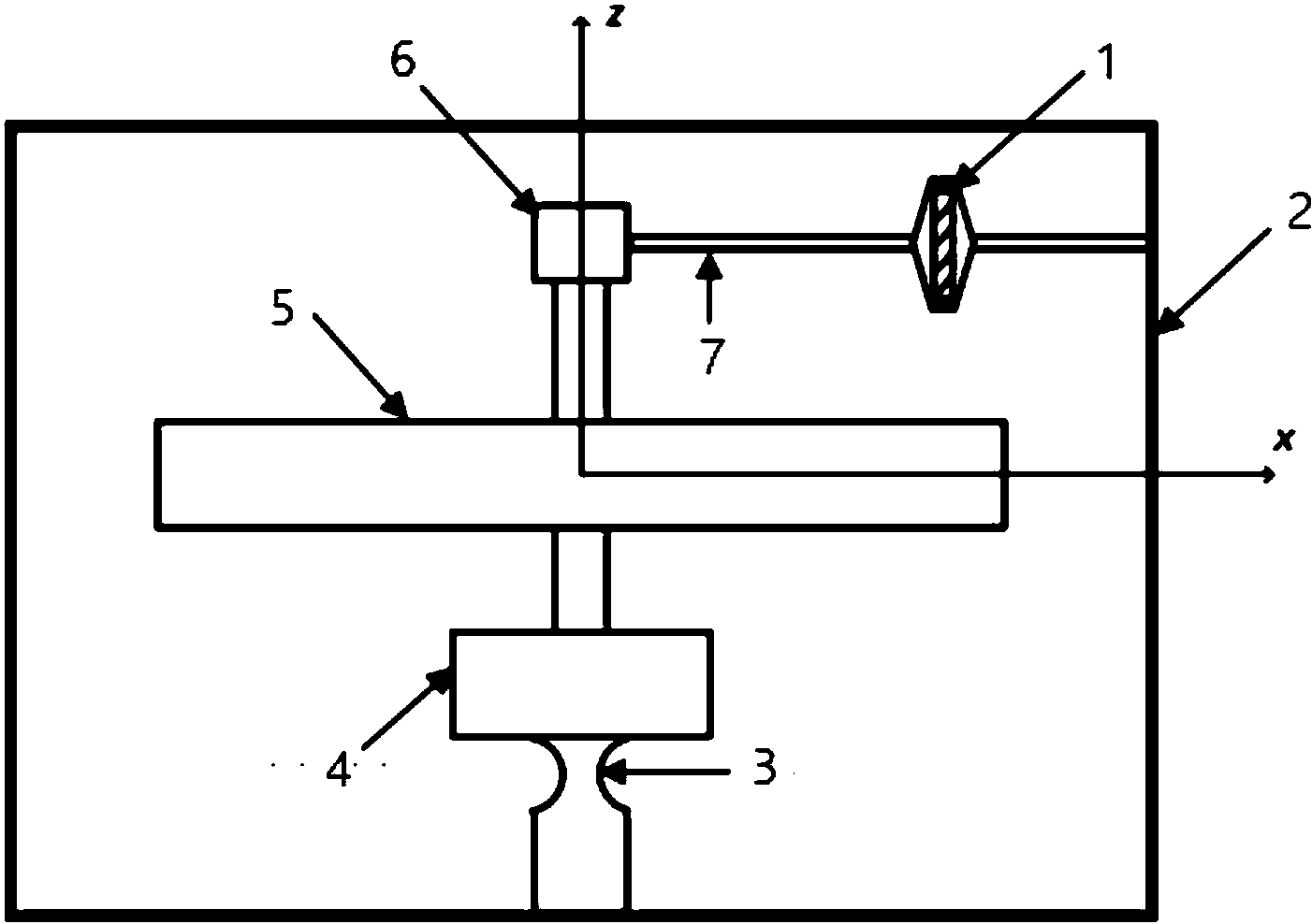
包括动量轮,转子电机,第一压电作动器,第二压电作动器,柔性球铰链
图片尺寸1402x988
包括由空心轴,轴承套筒挡圈,轴承套筒,轴承,轴承盖,球铰链和限位支撑
图片尺寸2508x1911
原理分类 制锁摩擦式附着体 机械式附着体 定位锁式附着体 球铰链式
图片尺寸1080x810