球阀图片简图

球阀安装有方向要求吗?
图片尺寸798x765
球阀示意图
图片尺寸800x710
内螺纹球阀
图片尺寸750x600
球阀 球阀通道截面直径选择和球体外圆半径的确定设计
图片尺寸716x986
球阀结构图.#机械之美 #机械制造 #球阀 #生产制造 - 抖音
图片尺寸587x532
上装式双向偏心金属硬密封球阀-爱企查
图片尺寸1913x2215
v型球阀结构图,工作原理及其特点总结
图片尺寸1269x713
球阀内部结构图
图片尺寸585x520
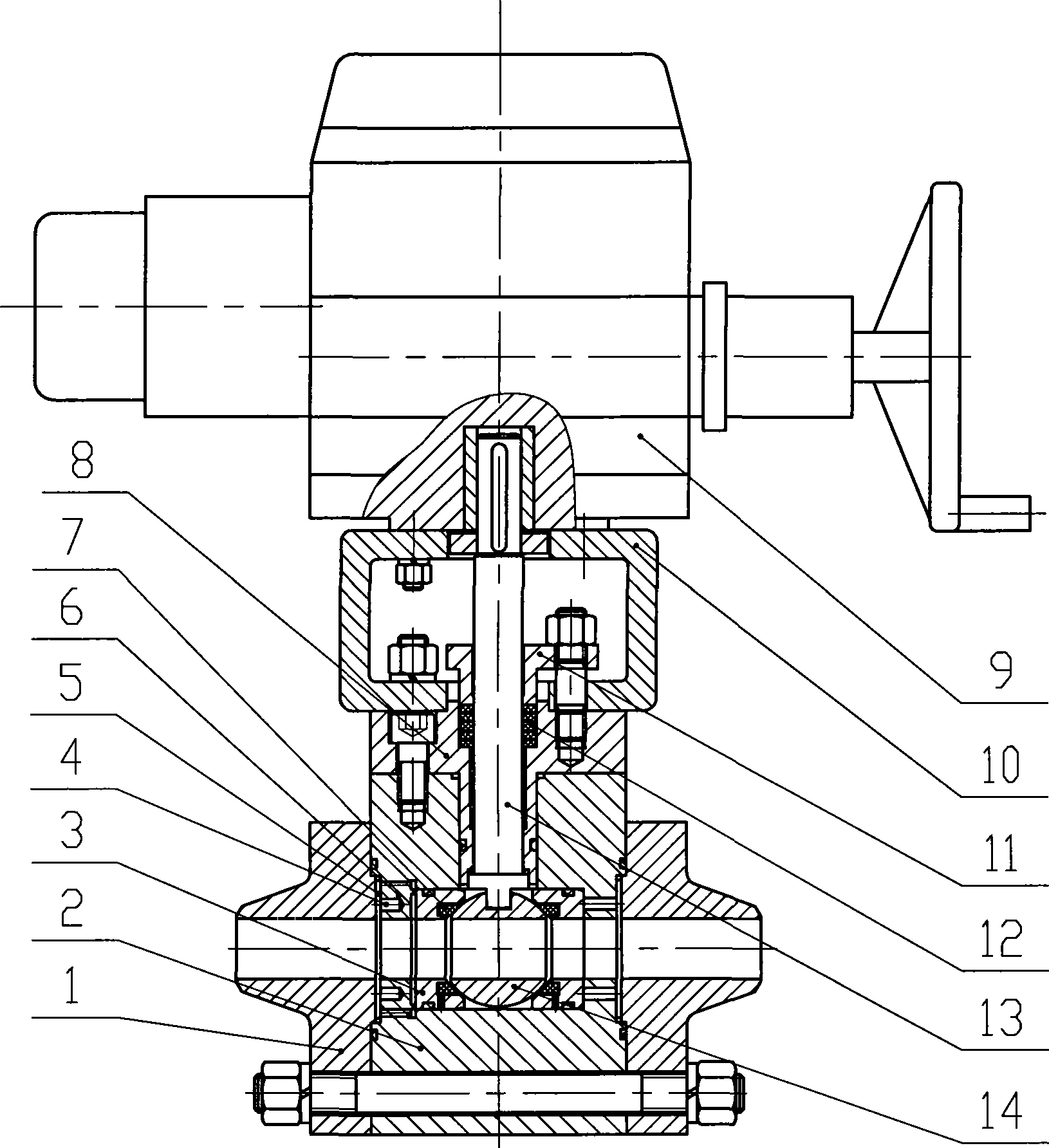
一种上装式球阀-爱企查
图片尺寸1636x1401
vq947电动Ⅴ型球阀
图片尺寸296x324
球阀图标
图片尺寸1200x627
一种上装式球阀-爱企查
图片尺寸1889x2383
一种m口调节功能的c型球阀-爱企查
图片尺寸1259x1407
斜楔式球阀-爱企查
图片尺寸2048x2156
城镇供热用焊接球阀
图片尺寸1653x2338
一种高密封球阀的制作方法
图片尺寸870x1000
q11f内螺纹铜球阀
图片尺寸282x256
一种新型球阀-爱企查
图片尺寸1344x1831
一种安全级高压球阀
图片尺寸1630x1784
q941智能型球阀
图片尺寸1292x862