球阀图片 简图

v型球阀结构图,工作原理及其特点总结
图片尺寸1269x713
118页球阀的结构原理ppt,可**
图片尺寸960x720
机械装配图纸:"法兰连接球阀"
图片尺寸703x564
球阀的使用说明书
图片尺寸756x597
球阀球阀的截止作用是靠金属球体在介质的作用下
图片尺寸1058x691
法兰球阀中一体式和两片式的各自的优缺点是什么
图片尺寸1269x714
球阀安装有方向要求吗?
图片尺寸798x765
q647f气动固定式球阀
图片尺寸3037x2304
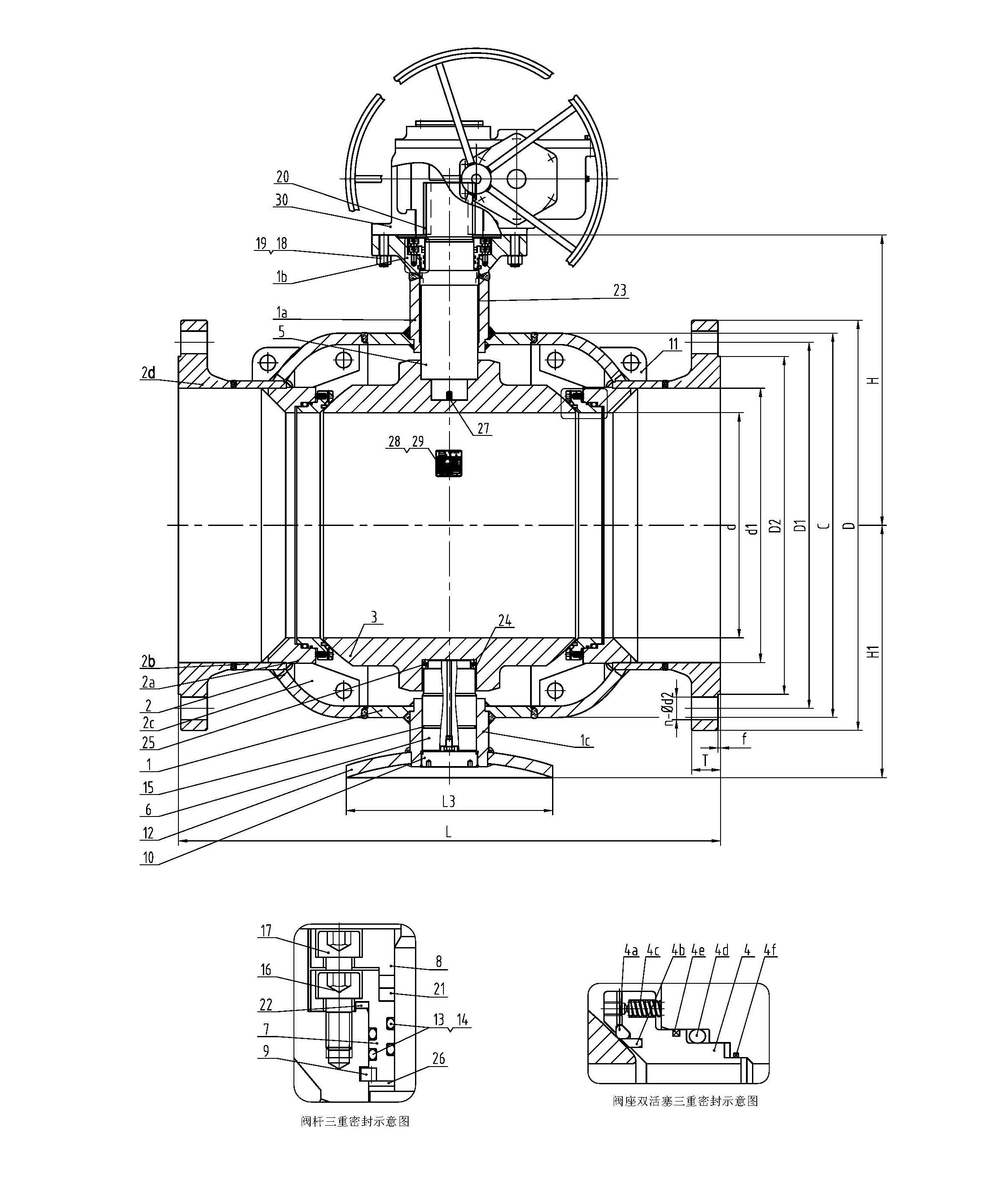
一种上装式c型球阀
图片尺寸1666x2424
一种m口调节功能的c型球阀
图片尺寸1259x1407
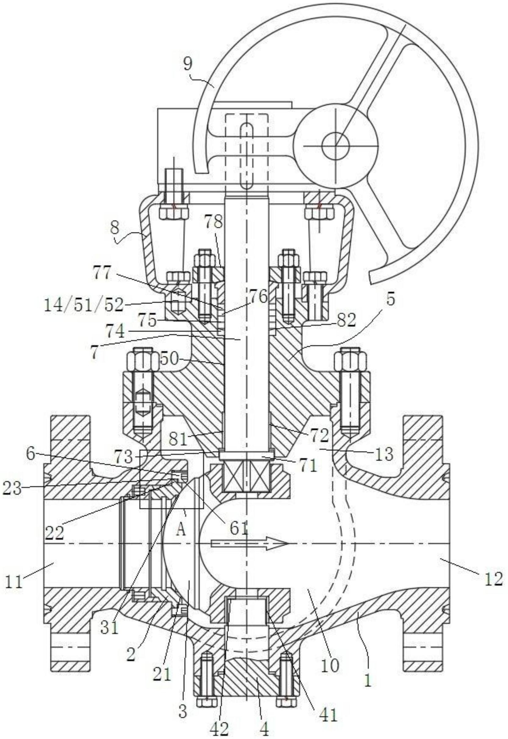
一种天然气集输用球阀的制作方法
图片尺寸926x1000
雷蒙德阀门厂家直销
图片尺寸2339x2765
图片尺寸1777x1409
从零件图拼画球阀装配图的详细步骤
图片尺寸555x488
斜楔式球阀
图片尺寸2048x2156
在线维修超低温高性能球阀
图片尺寸1632x1998
球阀图标
图片尺寸1200x764
球阀图标
图片尺寸1200x627
一种球阀的制作方法
图片尺寸1000x987
球阀图标
图片尺寸1100x1125