球阀阀芯零件图

球阀零件图集
图片尺寸920x1302
球阀零件图集
图片尺寸920x1302
球阀结构图
图片尺寸916x1001
根据球阀装配图,120为球阀总长尺寸,¢23h11/c11为装配尺寸,¢32为
图片尺寸890x629
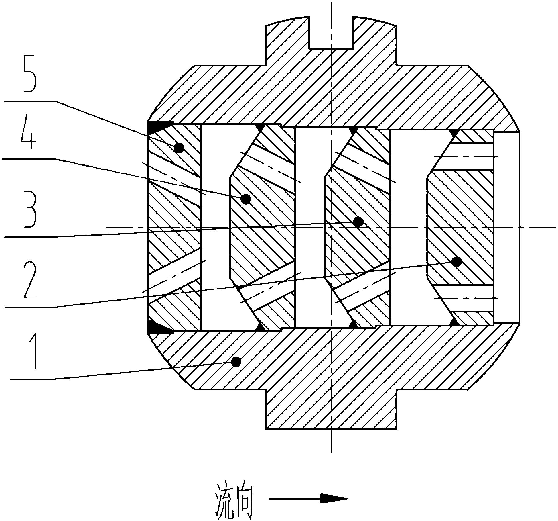
一种对冲型多级降压球阀阀芯
图片尺寸1949x1818
316 卫生级快装卡箍球阀 q81f-16p-dn15
图片尺寸682x544
q11sa内螺纹球阀q11sa
图片尺寸1116x759
dn50pn40硬密封浮动球阀
图片尺寸728x532
手动pvc球阀图片
图片尺寸1014x1024
一种用于冷热调节的球阀阀芯
图片尺寸1782x1127
一种具有耐气蚀功能的梳齿型球阀阀芯的制作方法
图片尺寸978x1000
求高压球阀图纸
图片尺寸1280x850
机械制图练习球阀套图绘制
图片尺寸500x396
硬密封球阀阀芯结构图
图片尺寸935x520
一种对冲型多级降压球阀阀芯的制作方法
图片尺寸1000x934
一种球阀阀芯的制作方法
图片尺寸1000x881
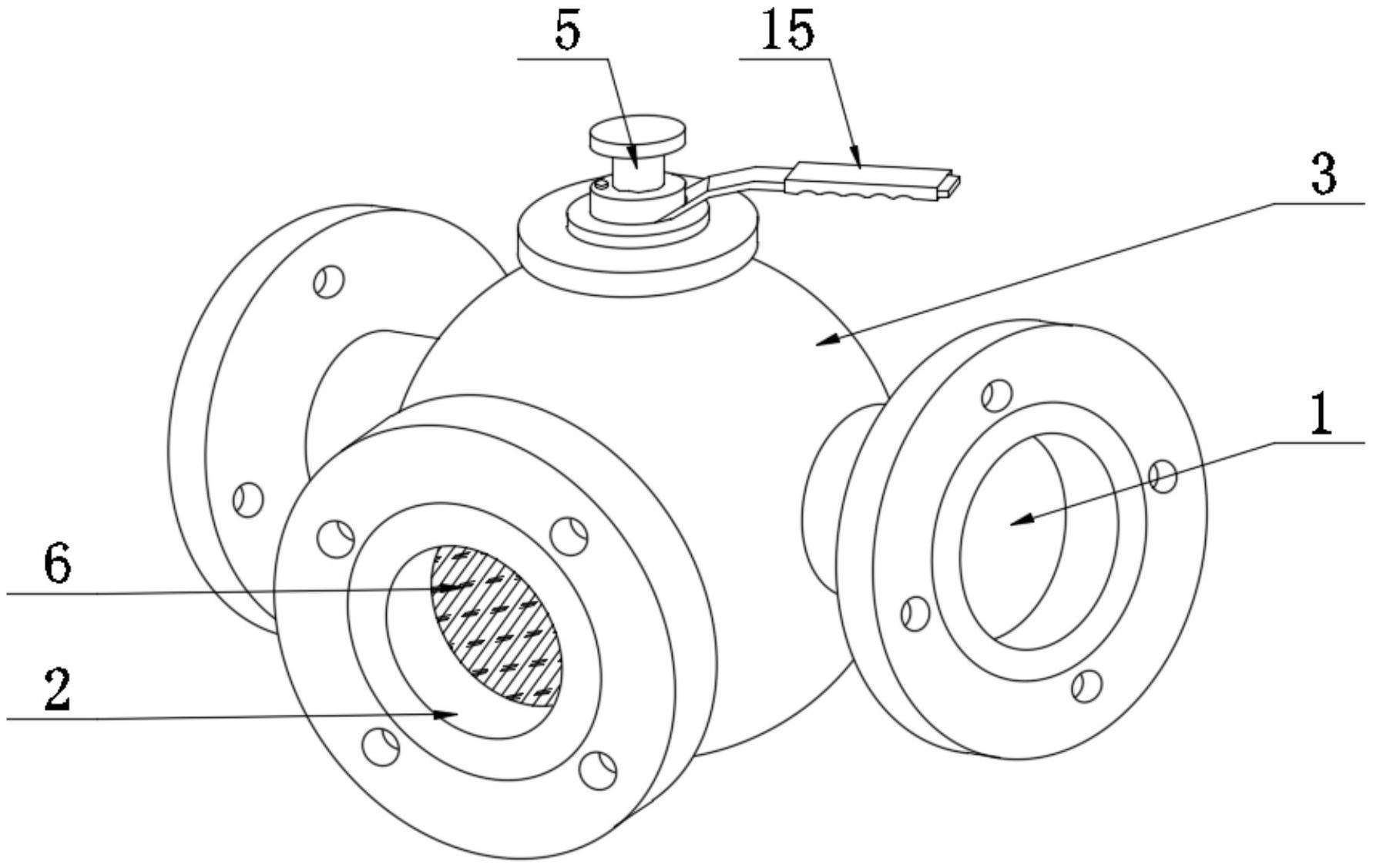
三通不锈钢球阀
图片尺寸700x401
cn202327186u_一种上装式球阀有效
图片尺寸1991x1931
18in-600#球阀
图片尺寸710x579
一种软硬密封球阀的制作方法
图片尺寸1000x972