瓶口怎么画

用折线分割瓶口区域将瓶身分为四个区域针管笔勾线铅笔起稿画面组成
图片尺寸640x891
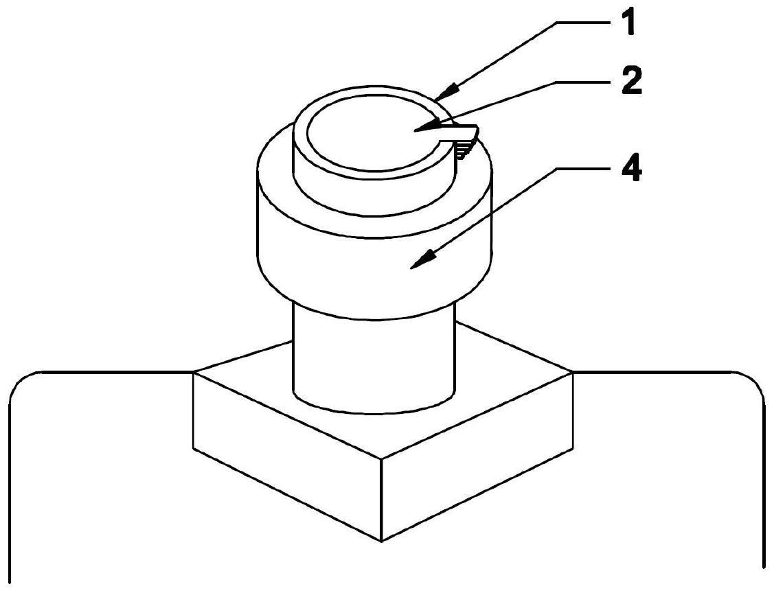
一种轻量化瓶口的制作方法
图片尺寸1000x916
陶瓷防伪瓶口-爱企查
图片尺寸922x930
画出花瓶的右半边,加上瓶口,把手和瓶底;3.加上花纹;4.涂上颜色.
图片尺寸640x993
2,然后画出花瓶的瓶口,再画出花瓶上面的图案.
图片尺寸800x416
步骤5:瓶口下面,画上一个大括号,再用弧线封起来作瓶身.
图片尺寸720x480
2,然后画出玻璃瓶瓶口的瓶塞部分.3,最后涂上颜色就可以了.
图片尺寸800x416
一种高压气瓶的瓶口结构-爱企查
图片尺寸580x800
瓶子怎么画瓶子怎么画简单漂亮
图片尺寸667x500
1,先画出瓶口和木塞.
图片尺寸800x450
画出花瓶的右半边,加上瓶口,把手和瓶底;3.加上花纹;4.涂上颜色.
图片尺寸640x877
摘要附图摘要本实用新型公开了一种输液瓶口标贴,包
图片尺寸1127x864
先画一个椭圆形当做罐子的顶部,下面画出罐子的瓶口,部分在瓶口下面画
图片尺寸500x341
步骤1/6先画出漂流瓶的轮廓和瓶口,玻璃轮廓里面再画一层可以画出瓶子
图片尺寸640x640
一种血培养瓶瓶口的制作方法
图片尺寸485x1000
1,首先我们画出漂流瓶的瓶口,瓶口是细长的,在顶部画上一个弯曲状的
图片尺寸700x525
啤酒瓶怎么画?啤酒瓶的素描步骤有哪些?
图片尺寸400x1090
啤酒瓶儿童创意素描画法
图片尺寸650x545
cn200940767y_一种液化石油气复合材料气瓶瓶口结构失效
图片尺寸1683x1041
具有复合瓶口的金属瓶及其制备方法-爱企查
图片尺寸597x1170