甩干机简笔画

甩干机简笔画
图片尺寸500x670
一种雨伞甩干机的制作方法
图片尺寸790x1000
甩干桶简笔画
图片尺寸500x1146
甩干桶简笔画
图片尺寸500x500
甩干机简笔画
图片尺寸500x577
甩干机(脚踏式)
图片尺寸760x1007
一种具有可拆卸清洗篮的果蔬脱水机的制作方法
图片尺寸911x1000
一种减弱机体抖动的绞纱甩干机的制作方法
图片尺寸900x1000
洗衣机线条画简笔画洗衣机甩干桶洗衣机的简笔画一洗衣机的拟人简笔画
图片尺寸500x647
浏览本次作品的您可能还对矢量洗衣机线条画简笔画洗衣机甩干桶洗衣机
图片尺寸750x500
cn209376654u_一种用于蔬菜加工的新型蔬菜甩干机有效
图片尺寸1000x897
一种快速脱水机的制作方法
图片尺寸444x368
一种用于蔬菜加工的新型蔬菜甩干机的制作方法
图片尺寸1000x896
一种手拉式脱水甩干机的制作方法
图片尺寸932x789
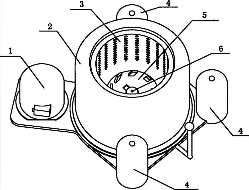
一种甩干机制造技术
图片尺寸1000x936
一种脱水机的制作方法
图片尺寸721x1000
一种具有甩干功能的果蔬净化装置制造方法及图纸
图片尺寸746x1000
衣物处理装置的制作方法
图片尺寸908x1000
一种加热甩干系统 - cn201710046122.
图片尺寸890x927
cn202599037u_产品甩干机失效
图片尺寸1000x762