甩干桶简笔画

如图所示,下列有关生活中的圆周运动实例分析,其中说
图片尺寸293x377
便于卸料的甩干桶-爱企查
图片尺寸1630x1695
塑料洗拖把桶脱水筛-爱企查
图片尺寸2272x2040
旋转脱水桶
图片尺寸1501x1841
拖把清洗甩干桶
图片尺寸1102x814
cn101926634a_拖把清洗甩干桶失效
图片尺寸1106x818
拖把清洗甩干桶
图片尺寸360x266
拖把桶(二)_cn201930291320.0_知雀网
图片尺寸896x1252
cn201445498u_地拖脱水桶失效
图片尺寸800x852
一种洗涤甩干桶及分离式洗衣机的制作方法
图片尺寸357x443
脱水桶制造技术
图片尺寸1000x989
水桶简笔画水桶怎么画图片
图片尺寸600x377
一种鱼糜初步甩干装置-爱企查
图片尺寸776x800
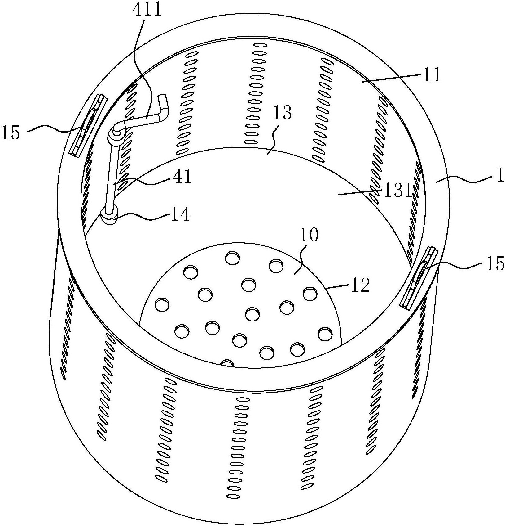
了一种拖把桶,包括桶体,桶体的一侧底面设有凸台,凸台上设有甩干篮,所
图片尺寸1885x2607
本外观设计产品的用途:用于储水或甩干拖把的水,属于清洁器具.
图片尺寸1534x1325
一种新型可升降的洗涤甩干桶及其操作方法与流程
图片尺寸408x443
体,桶体的右侧底部设有可自由转动的旋转盘;桶体的左侧上方设有甩干区
图片尺寸1504x1232
桶的简笔画
图片尺寸222x329
清洁工具儿童画怎么画 清洁工具简笔画步骤
图片尺寸800x416
甩干桶简笔画
图片尺寸500x1146