甩棍结构示意图

一种警用甩棍
图片尺寸499x365
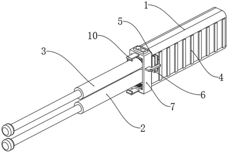
甩棍的制作方法
图片尺寸1000x353
一种甩棍的制作方法
图片尺寸1000x860
苏盾批发自动弹簧甩棍合法车载防身甩棍自卫三节钢笔伸缩甩辊甩鞭
图片尺寸790x1211
一种具备电击效果的警用甩棍-爱企查
图片尺寸800x538
防身甩棒德国fox凸轮机械棍德国eka甩棍技术狐狸伸缩棍棒防身合法26寸
图片尺寸750x784
一种警用甩棍的制作方法
图片尺寸397x898
一种带磁石的甩棍的制作方法
图片尺寸1000x980
一种溺水救援甩棍的制作方法与工艺
图片尺寸698x1000
一种便于携带的新标甩棍的制作方法
图片尺寸1000x333
结构改进的伸缩式警棍的制作方法与工艺
图片尺寸750x1000
野人谷机械伸缩棍甩棒战术防身甩棍一键收缩单位列装款重机轻机棒防身
图片尺寸790x856
一种多功能伸缩棍的制作方法
图片尺寸1000x511
一种棱柱结构的甩棍的制作方法
图片尺寸327x569
京东触屏版
图片尺寸750x1115
自动弹出防身甩棍
图片尺寸1242x1660
车载破窗应急,户外防身健身甩棍伸缩棍,实心内管,结实耐用,爬 - 抖音
图片尺寸1440x1920
甩棍合法车载防身甩棒实心机械伸缩摔格便携防狼 加粗款机械甩棍【21
图片尺寸790x955
【we装备库】弘安保罗战术特工阻力甩棍合金钢警备三节棍伸缩棍
图片尺寸790x694
多功能实心甩棍
图片尺寸1440x1924