电力电容器结构

精讲电力电容器试验方法
图片尺寸960x720
关于电力电容器结构的简单介绍
图片尺寸750x450
电容器结构
图片尺寸562x354
基础知识|并联电容器的构造-搜狐
图片尺寸600x537
铝电解电容器结构图展示
图片尺寸706x446
电力电容器结构
图片尺寸750x450
铝质电解电容器简介ppt
图片尺寸1080x810
图1 补偿电容器结构图
图片尺寸500x578
超级电容器
图片尺寸495x341
电力电容器结构及作用
图片尺寸488x543
p>电容器工作原理是通过在电极上储存电荷储存电能,通常与电感器共同
图片尺寸560x420
型号含义 一般电容器的型号含义如下图所示 基本结构 电力电容器的
图片尺寸640x256
【电力小知识】认识电容器(图)
图片尺寸599x464
电力电容器的基本结构包括:电容元件,浸渍剂,紧固件,引线,外壳和套管.
图片尺寸512x422
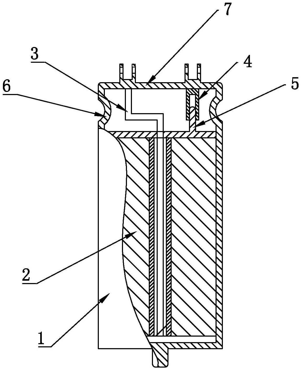
一种电力电容器-爱企查
图片尺寸1149x1413
电力电容器安装施工工艺标准
图片尺寸600x348
自愈式低压并联电力电容器的内部结构图解
图片尺寸600x420
讲解电力电容器和电抗器
图片尺寸720x540
谈谈电力电容器的结构及其特性
图片尺寸750x450
一种紧凑型集合式电力电容器的制作方法
图片尺寸751x1000