电加热器结构

辅助电加热器_德州昊伟空调设备有限公司
图片尺寸570x600
二,管道式电加热器的组成结构
图片尺寸800x419
一种电加热器的发热装置-爱企查
图片尺寸1864x2175
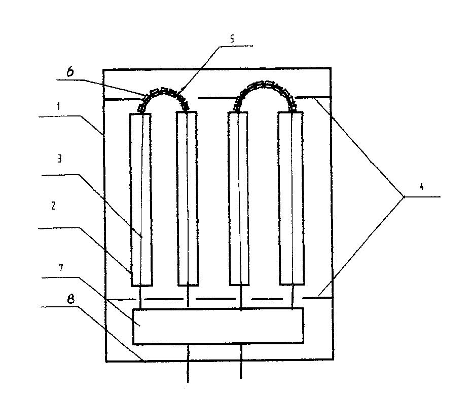
空气电加热器的结构原理
图片尺寸752x468
结构包括:疏水温度降低后,当流向下一个压力较低的加热器时,减弱了在
图片尺寸640x387
一种辐射式电加热器结构的制作方法
图片尺寸461x489
电加热器-爱企查
图片尺寸931x794
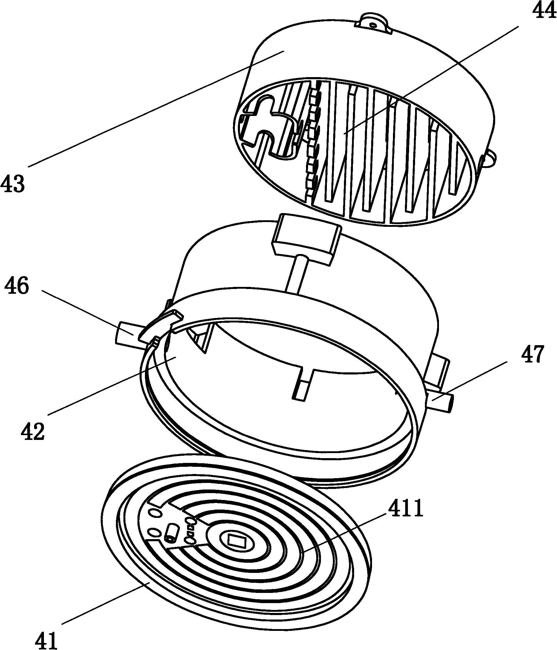
一种可方便安装节能型电加热器的制作方法
图片尺寸1898x1316
一种ptc加热器及电动汽车-爱企查
图片尺寸1676x1515
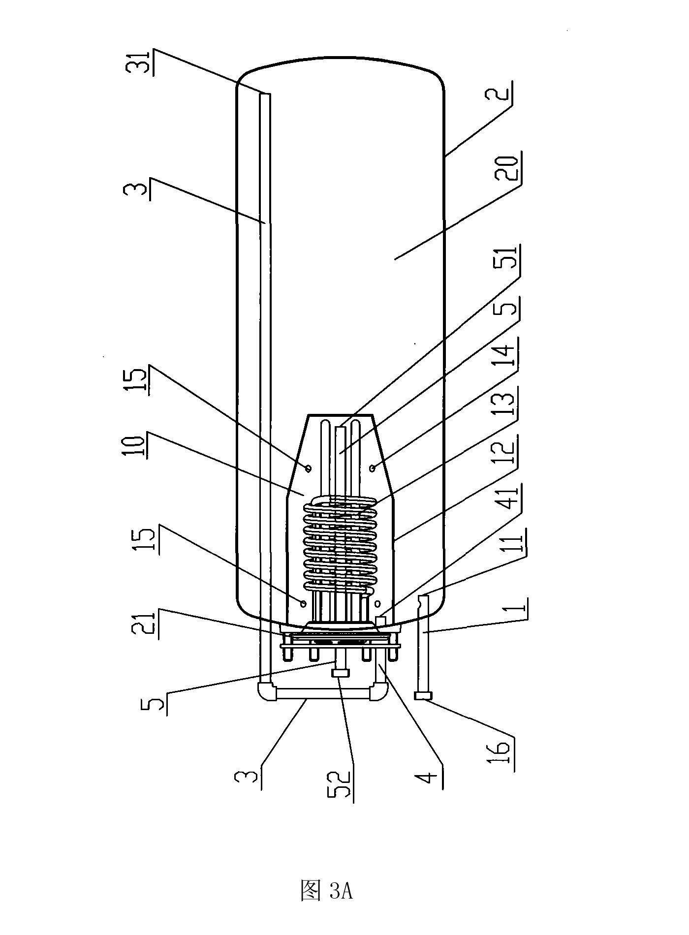
双模单核预即热式电热水加热器
图片尺寸1400x1900
液体管道式电加热器
图片尺寸1600x836
三,管道电加热器特点1,具有结构先进,热效率高;2,机械强度好,耐腐
图片尺寸564x230
加热蒸汽发生器,包括:控制器及蒸汽发生器本体,蒸汽发生器本体的结构
图片尺寸1825x2749
电加热器的工作原理:常见电加热器件原理与检测,小白也能看懂!
图片尺寸1080x810
cn101545673a_一种盘管式电热膜热水器加热器失效
图片尺寸1578x2247
一种用于小流量高温气体的管道电加热器的制作方法
图片尺寸427x443
cn207299523u_高效安全型天然气电加热器有效
图片尺寸1941x1430
循环水电加热蒸汽发生器
图片尺寸1862x2980
摘要附图摘要本实用新型涉及一种熔盐蓄热电加热锅炉,在压力容器内装
图片尺寸1689x978
电热汇分享电热管加热器原理及优缺点详解
图片尺寸640x475