电加热管结构

电加热管的工作原理及其组成
图片尺寸589x379
清晰明了了解电热管的结构正大昌科技
图片尺寸826x436
模具单头电加热管
图片尺寸1296x716
4,(防爆型管道加热器)由于采用先进的防爆结构,设备可广泛应用在化工
图片尺寸735x289
单头电加热管的结构
图片尺寸700x310
对于电加热管结构不
图片尺寸700x525
法兰不锈钢电加热管
图片尺寸670x483
应急发电机电加热器
图片尺寸700x306
防爆电加热管 结构图.jpg
图片尺寸1500x500
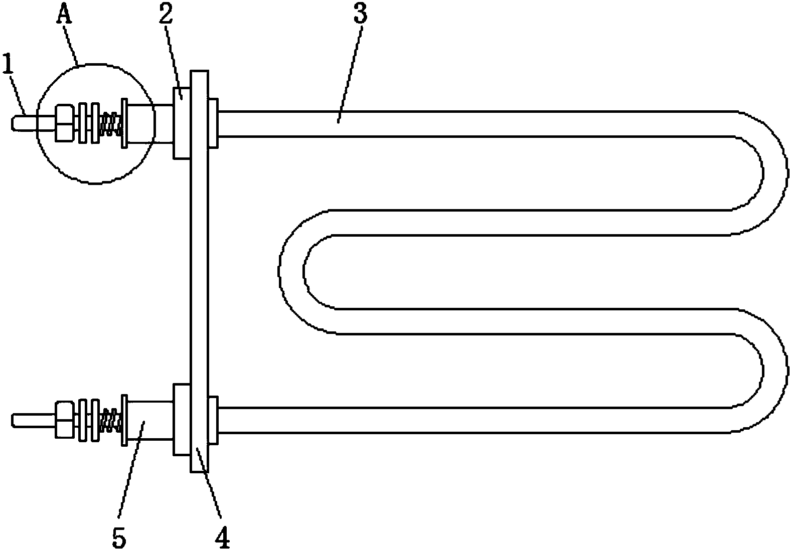
一种新型快速加热电热管
图片尺寸1575x1095
供应模温机电热管 锅炉蒸汽炉发热管120*120铁板头加热管六组380v/9kw
图片尺寸1073x840
异形法兰加热管- 电加热热风炉_热风机_烘房加热器-江苏中驰机械有限
图片尺寸750x501
电加热管结构示意图 第1页
图片尺寸994x557
二,管道式电加热器的组成结构
图片尺寸800x419
液体管道式电加热器
图片尺寸1600x836
中功率加热器和小功率加热器 3 种;按结构,电加热器分
图片尺寸449x294
一种用于风冷式冰箱除霜用电加热管结构的制作方法
图片尺寸444x261
非金属水箱中央热水器旁热式光波电热管安装结构-爱企查
图片尺寸1725x959
单头加热管使用说明
图片尺寸800x496
电加热管结构图
图片尺寸700x250