电动升降桌结构图

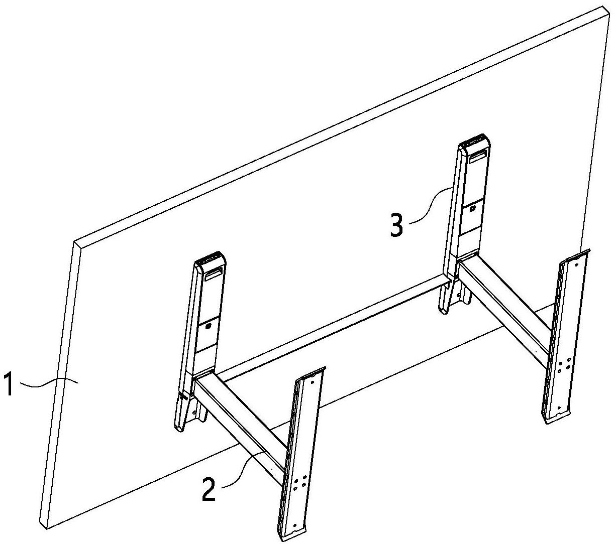
一种快速安装式模块化电动升降桌的制作方法
图片尺寸1000x968
电动升降桌到底有没有必要买?这几点你必须搞清楚
图片尺寸1224x888
电动升降桌气动站立式学习写字桌办公工自动记忆笔记本台式电脑桌
图片尺寸750x587
解忧杂货铺篇二百零七京东京造的智能升降桌含说明书双电机电动升降桌
图片尺寸1080x1559
一种可升降办公学习桌的制作方法
图片尺寸946x1000
cn213464178u_一种双工位电动升降办公桌有效
图片尺寸1975x1405
解忧杂货铺篇二百零七京东京造的智能升降桌含说明书双电机电动升降桌
图片尺寸1080x1824
一种可电动调节的升降桌桌面结构
图片尺寸1985x1287
一种电动升降桌结构的制作方法
图片尺寸444x380
本实用新型涉及家具结构的技术领域,具体为电动升降桌.
图片尺寸905x1000
cn107951171a_一种电动升降桌在审
图片尺寸468x672
自动升降桌
图片尺寸1981x1906
台湾timotion电动升降办公桌站立式工作家用电脑桌移动书桌卧室桌
图片尺寸800x800
一种可电动调节的升降桌桌面结构的制作方法
图片尺寸1000x649
一种电动升降桌-爱企查
图片尺寸1224x1092
结构改进的桌上型升降工作站-爱企查
图片尺寸633x1093
一种电动升降桌制造技术
图片尺寸472x675
乐歌e5一款极具人性化的电动升降办公桌
图片尺寸1080x768
一种单电机升降桌的制作方法
图片尺寸1000x865
升降台电动升降桌大总结系列站立办公升降台电脑支架推荐20215月
图片尺寸903x561