电动升降装置原理

叉臂式升降器的结构 电动升降器 手动升降器 8- 导向轮
图片尺寸1080x810
工程科技 交通运输 轿车车门玻璃升降系统分析ppt 式电动玻璃升降器
图片尺寸1080x810
车窗升降的工作原理及故障排除
图片尺寸477x572
多层车库电梯升降装置的机构及控制系统设计
图片尺寸830x654
手动/ 手动/电动摇臂式 电动钢丝式 电动塑料带式 车窗玻璃升降器类型
图片尺寸1080x810
一种室内装修用可升降脚手架装置的制作方法
图片尺寸1000x736
一种电工维修用电缆牵引升降装置
图片尺寸518x535
一种土木工程用小型物料升降装置
图片尺寸1446x1827
自动往复式升降装置
图片尺寸1773x2452
电气自动化升降装置的制作方法
图片尺寸1000x836
该螺旋升降机是由电动机,机架,快速夹头等组成.
图片尺寸664x671
电动窗帘 电动升降开合帘 超高窗专用 窗帘清洗快捷方便
图片尺寸1000x1000
一种基于碳纤维筒的多级同步升降装置
图片尺寸932x2311
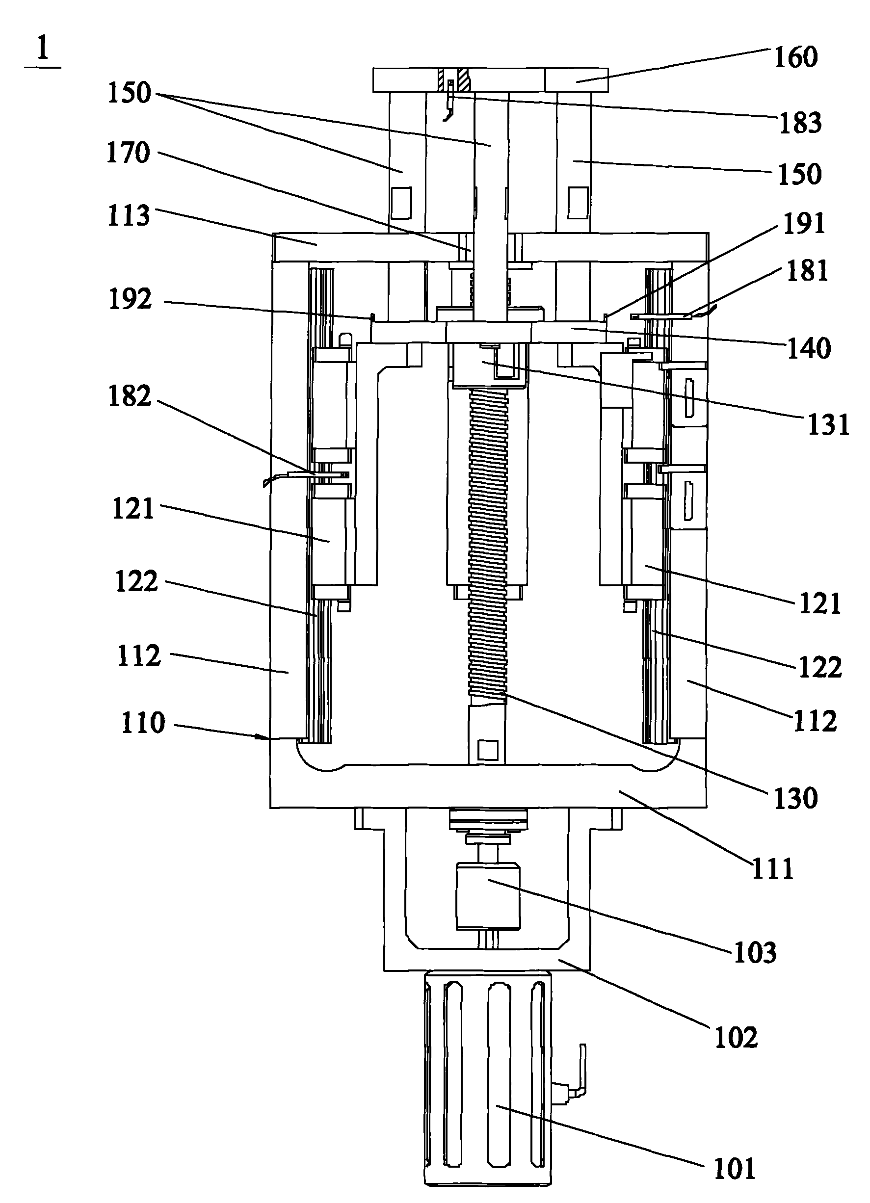
升降机构及其机器人的制作方法
图片尺寸953x1000
2垂直升降机构
图片尺寸1080x810
cn1522220a_电梯装置的升降机构及其升降方法失效
图片尺寸494x709
一种手拉葫芦空载快速升降装置
图片尺寸1424x1878
一种移动式平衡升降机的制作方法
图片尺寸1000x864
汽车玻璃升降器工作原理动画演示
图片尺寸1000x596
cn1121274a_用于调整升降机用电动机的装置失效
图片尺寸2208x1536