电动卷帘门图纸

防火电动卷帘门 厂家 防火卷帘门是一种适用于建筑大开口的防火
图片尺寸1650x1280
佛山铝合金电动卷帘门 自动遥控翻板卷闸门 双层不锈钢防盗卷帘门
图片尺寸750x1144
一种除尘电动卷帘门的制作方法
图片尺寸740x960
电动卷帘门结构图和工作方式详解
图片尺寸640x652
建筑与外界的交通要求多样化也越来越多,卷帘门就是其中一种,由于卷帘
图片尺寸973x1000
卷帘门安装 - 通用设备图纸 - 沐风网
图片尺寸565x791
一种停电外开多功能电动卷帘门及其开门结构的制作方法
图片尺寸714x1000
防火抗风卷闸门电动感应卷帘门 无机布卷帘门厂家供应
图片尺寸790x1753
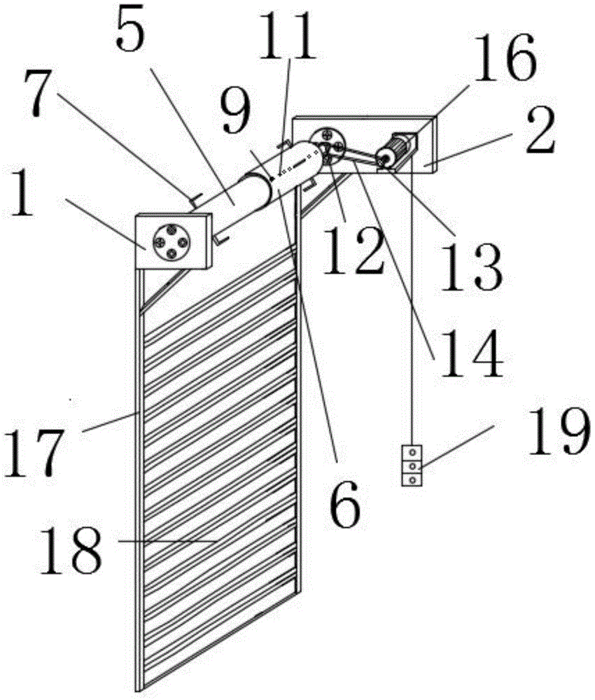
一种电动工业卷帘门的制作方法
图片尺寸609x722
自动门控制装置六大模块
图片尺寸1440x998
昆明厂家定制电动卷帘门 车库门 电动卷闸门
图片尺寸1495x1539
cn209670842u_一种便于维修的电动卷帘门
图片尺寸850x1000
一种方便安装维护的电动卷帘门的制作方法
图片尺寸631x752
专用车卷帘门 - 通用设备图纸 - 沐风网
图片尺寸820x560
cn112814550a_一种双轨折叠式防火卷帘门有效
图片尺寸1625x1918
cn205895092u_一种防止传动链条变松的电动卷闸门失效
图片尺寸1817x1524
电动卷帘门电机批发/卷闸门电机批发
图片尺寸1024x731
电动卷帘门的特性
图片尺寸516x462
汕尾电动卷帘门报价
图片尺寸791x662
合肥电动卷闸门
图片尺寸512x529