电动堆高车结构

电动叉车堆高车电动堆高车3吨2吨电动搬运装卸车手电一体叉车插电式
图片尺寸790x1213
全电动堆高车设计图_半电动堆高机工作原理图_电动堆垛车载荷曲线图
图片尺寸2040x2210
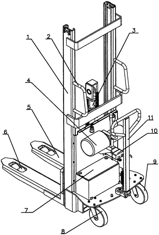
一种电动堆高叉车的制作方法
图片尺寸1000x945
堆高车结构简单,操控灵活,微动性好,防爆安全性能高.
图片尺寸301x443
平衡重式全电动堆高车
图片尺寸900x1054
全电动堆高车的尺寸及结构组成
图片尺寸683x546
带翻转机构的半电动液压堆高车
图片尺寸1236x1389
带翻转机构的半电动液压堆高车的制作方法
图片尺寸889x1000
全电动堆高车设计图_半电动堆高机工作原理图_电动堆垛车载荷曲线图
图片尺寸2337x1630
一种半电动堆高车-爱企查
图片尺寸541x800
三级门架全电动堆高车
图片尺寸900x1225
全电动堆高车设计图_半电动堆高机工作原理图_电动堆垛车载荷曲线图
图片尺寸1480x639
车轮,因此工况会简单很多,系统架构也会简单很多,结构设计和控制算法
图片尺寸660x341
全电动堆高车设计图_半电动堆高机工作原理图_电动堆垛车载荷曲线图
图片尺寸2024x1422
堆高车叉车
图片尺寸820x666
电动堆垛车堆高车重庆电动叉车配重式堆高叉车前移式电动叉车
图片尺寸790x727
电动堆高车 内部结构图
图片尺寸820x686
meketech全电动平衡重堆高车24vmd10b16
图片尺寸800x581
cdd全电动托盘堆高车特点
图片尺寸720x559
城市代步电瓶车
图片尺寸725x438