电动夹爪原理

电动夹爪原理动画
图片尺寸1080x675
电动夹爪机构原理动画
图片尺寸1080x810
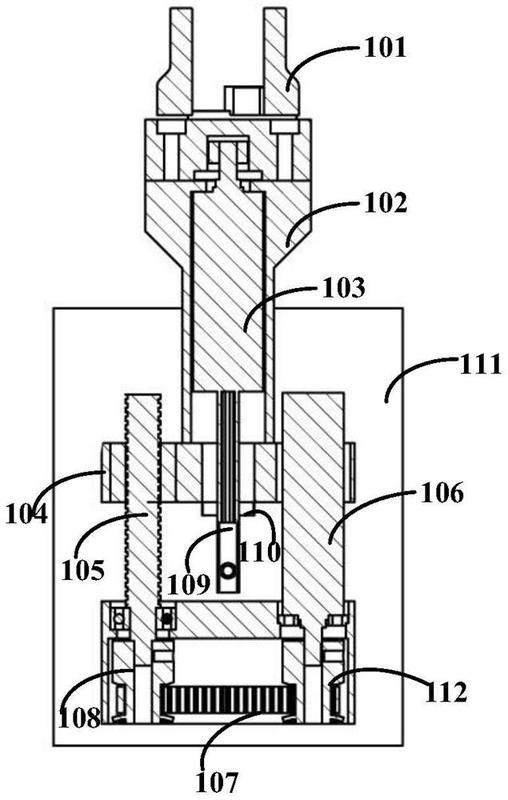
一种带力反馈的电动夹爪的制作方法
图片尺寸1000x895
图片浏览
图片尺寸1153x1267
柔性夹爪柔性机械爪仿生柔性机械手指手爪软体自适应气动电动柔性夹爪
图片尺寸750x1272
一种直线运动电动夹爪及设备-爱企查
图片尺寸508x800
柔性夹爪柔性机械爪仿生柔性机械手指手爪软体自适应气动电动柔性夹爪
图片尺寸750x593
厉害了为家政机器人配上这款机械手一张纸巾掉地上都能捏起来
图片尺寸660x500
一种基于弹簧片的电动手爪夹取力检测机构的制造方法与工艺
图片尺寸788x1000
一种轻型力控电动夹爪的制作方法
图片尺寸750x1000
一种改进型电动夹爪的制作方法
图片尺寸432x444
自适应夹爪
图片尺寸1840x2217
大寰ag95夹爪指尖更换结构示意图及通讯协议转换器说明
图片尺寸797x567
锂电池夹爪机构设计,即用气缸抓取又用吸盘,夹具材料选型
图片尺寸1230x769
一种新型夹爪机构的制作方法
图片尺寸1000x700
机械手爪伺服电动夹爪pgi大负载长行程工业协作平行机器人电爪
图片尺寸900x1200
基于音圈电机驱动的恒温恒力高精度电动夹爪
图片尺寸443x432
一种伺服电缸控制的夹爪机构的制作方法
图片尺寸918x1000
夹爪的制作方法
图片尺寸1000x949
一种用于工业具有辅助定位机构的机械手夹爪
图片尺寸1350x1857