电动弯管机结构图

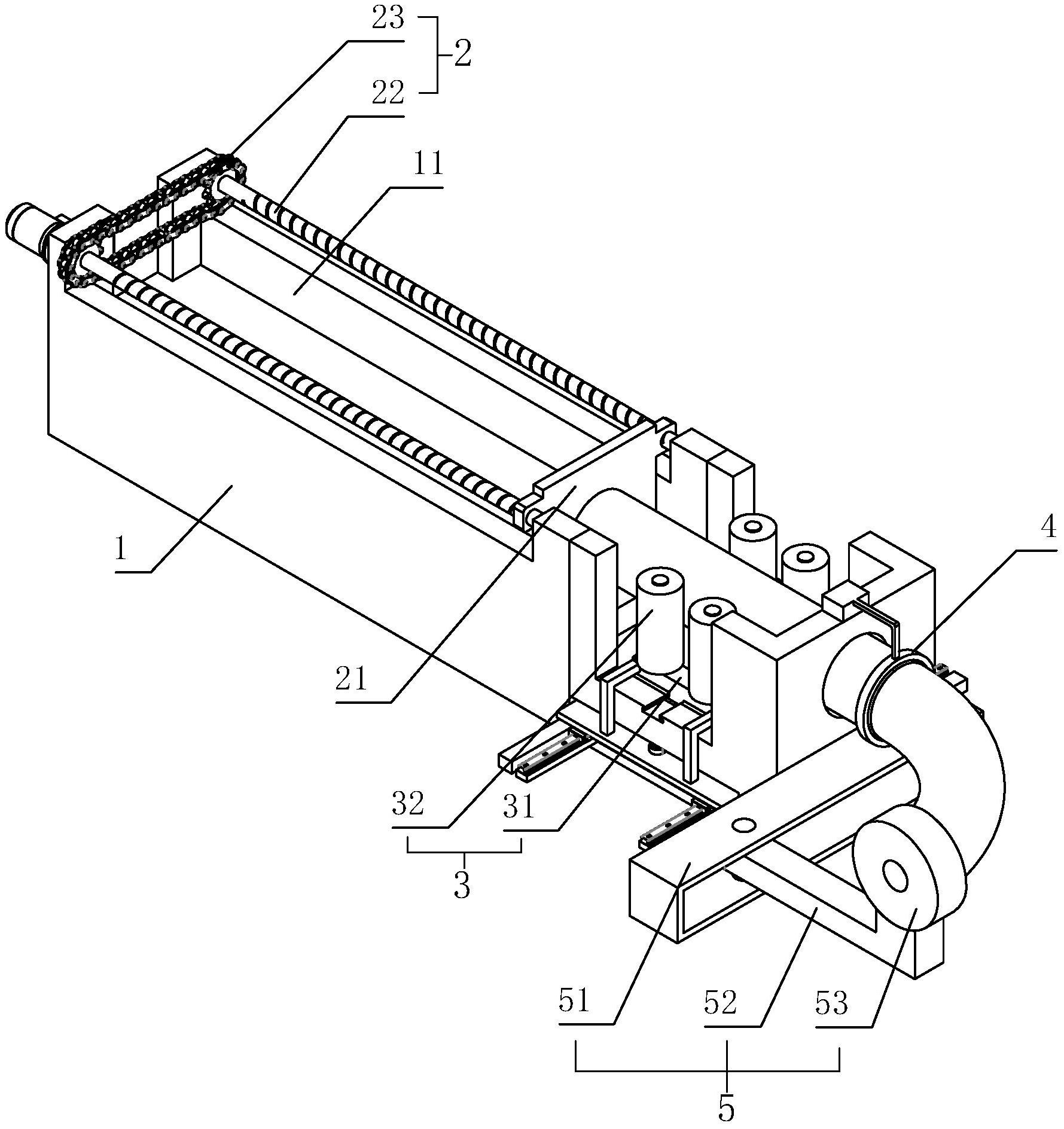
一种弯管机的制作方法
图片尺寸832x1000
cnc弯管机结构图
图片尺寸1270x645
电液伺服数控折弯机结构详解
图片尺寸1385x1976
数控弯管机工作原理
图片尺寸598x288
cn101474651a_一体化弯管机有效
图片尺寸2106x1650
一种弯管机的制作方法
图片尺寸987x1000
三维弯管机培训资料
图片尺寸1080x810
弧形折弯机铁丝弯管机3d三维几何数模型结构简化电动机进给量可调
图片尺寸824x840
供应 全自动弯管机dw63cnc2a1s数控弯管机 张家港弯管机厂家
图片尺寸750x1192
山东弯管机-石家庄液压弯管机-弯管机价格优惠
图片尺寸600x364
实用弯管机总图
图片尺寸1600x1280
一种新型高效液压弯管机
图片尺寸1887x1850
一种双动力驱动的数控弯管机-爱企查
图片尺寸454x425
一种弯管机的制作方法
图片尺寸859x1000
手,电动两用弯管机
图片尺寸402x186
弯管方法讨论(二天时间弄出来的弯管机设计方案)
图片尺寸1169x827
一种弯管机
图片尺寸1000x998
swg22b弯管机
图片尺寸701x593
弯管机三维图
图片尺寸667x680
中频推式弯管机
图片尺寸1779x1888