电动扳手电路图

电槌式螺丝扳手的扭力控制电路
图片尺寸2242x1615
背景技术:电动扳手是指拧紧和旋松螺栓及螺母的电动工具,是一种拧紧高
图片尺寸1000x788
厂家直销 5串电动扳手锂电池保护板 无锡款 量大从优
图片尺寸750x336
手电钻原理图分析
图片尺寸1600x720
图1 电动工具电路图
图片尺寸554x323
虎啸电动扳手接线图
图片尺寸381x302
进口电动扳手|电动扳手的结构|电动扳手厂家
图片尺寸640x391
基于stc12c5a60s2的可控电动扳手控制器中的设计
图片尺寸544x321
用于电动工具的适配器,电动工具系统和无线地传送其维护信息的方法
图片尺寸795x1000
机械扳手控制电路
图片尺寸316x319
基于stc12c5a60s2的可控电动扳手控制器中的设计
图片尺寸933x670
手电钻改正反转电路图
图片尺寸546x448
锂电池在液压数显扳手中的应用价格
图片尺寸750x564
用于电动扳手的保护板的制作方法
图片尺寸1000x771
以起到电路的开关作用! 向左转| 向右转
图片尺寸750x413
本实用新型涉及电动扳手技术领域,尤其涉及一种基于单片机控制的电
图片尺寸961x1000
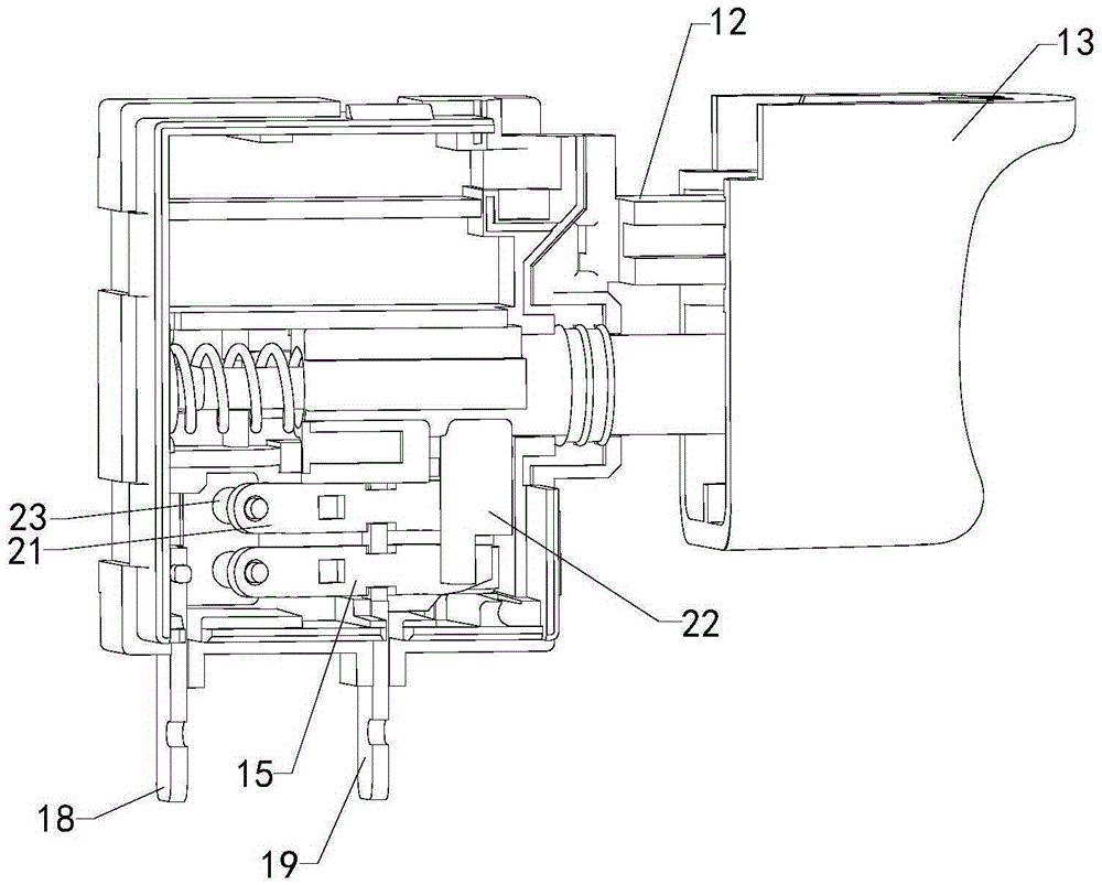
cn205140800u_用于振动较大的电动扳手开关结构有效
图片尺寸1000x803
基于stc12c5a60s2的可控电动扳手控制器中的设计
图片尺寸914x672
虎啸电动扳手接线图
图片尺寸320x250
大艺牧田龙韵芝浦红松国产电扳手电路板锂电充电池保护板线路板
图片尺寸1547x1162