电动排烟窗图纸

【麦克威排烟天窗】电动排烟采光天窗通用控制系统概述_导线_控制器
图片尺寸1045x480
21cj103图集消防排烟天窗和通风天窗介绍
图片尺寸940x663
09j621-2电动采光排烟天窗标准设计指南
图片尺寸1029x726
鑫宏安电动排烟窗消防铝制排烟窗符合验收标准
图片尺寸621x391
点选小图可放大 点选小图可放大 二连式 自然排烟窗详图 三连式
图片尺寸977x611
常用电动采光排烟天窗(参考12j201《平屋面建筑构造》图集)_产品_团队
图片尺寸940x675
【23cj87-1图集】ii型排烟窗(防雨型排烟窗)说明
图片尺寸2445x1728
排烟窗自然排烟系统设计说明
图片尺寸944x956
Ⅰ型排烟窗(三角型排烟窗)说明(选自23cj87-1采光,通风,消防排烟天窗
图片尺寸2562x1810
三角型电动采光排烟天窗平,立,剖面图
图片尺寸705x543
这是一个排烟窗的大样图 该处房间的净高为3.
图片尺寸1006x1280
福建屋面电动排烟窗厂商
图片尺寸600x488
【麦克威天窗】三角型上开式电动消防排烟天窗结构及原理图
图片尺寸640x476
一种电动排烟窗的制作方法
图片尺寸369x443
排烟窗施工安装工艺流程一, 百叶窗——划线定位根据数据图纸中百叶窗
图片尺寸900x1374
火灾自动报警系统中电动排烟窗是怎么设置的
图片尺寸640x429
23cj87-1天窗图集:Ⅰ型排烟天窗(三角型排烟窗)
图片尺寸940x674
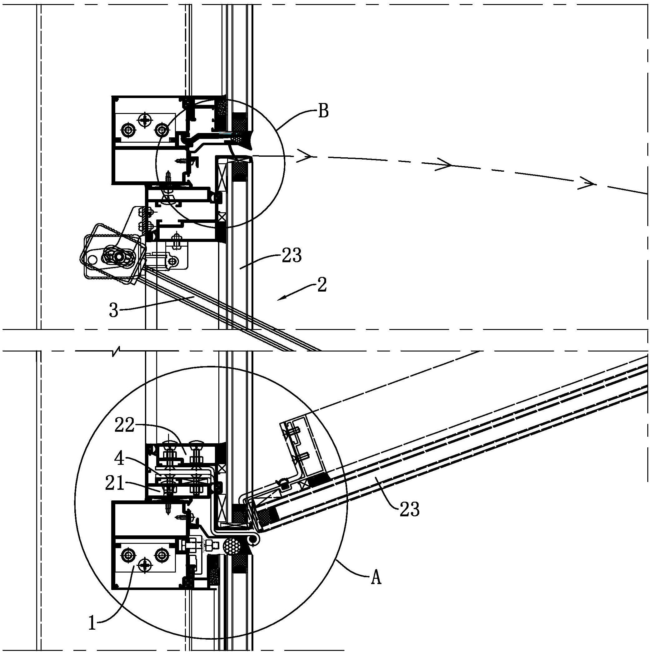
一种适用于大角度排烟窗的外倒开启节点
图片尺寸2087x2095
从外形上开有一字型电动采光排烟天窗和三角型电动采光排烟天窗两种
图片尺寸640x470
参考图集号23cj87-1:Ⅱ型排烟窗(防雨型排烟窗)
图片尺寸940x696