电动推杆安装示意图

dt型电动推杆
图片尺寸750x929
一流工艺,全年7*24小时售后【电液推杆品牌首选】固瑞特电液推杆
图片尺寸1699x1920
厂家定制电推杆医用护理电动推杆开开窗器电动推杆往复电机
图片尺寸788x448
平行式电液推杆
图片尺寸1037x582
厂家直销重型电动推杆,线性推杆,大功率直流驱动电推杆,电动缸
图片尺寸1000x2000
交叉升降平台举升门运输车特种车辆电动推杆超大负载
图片尺寸873x800
电动推杆
图片尺寸760x636
电动推杆
图片尺寸650x401
医疗电动推杆产品资讯
图片尺寸600x380
推杆电动12v直流伸缩杆tga电动螺旋杆防水微型电推杆可控行程100mm
图片尺寸790x889
电动车用电动机 特征描述 直流电动推杆,结构精简,体积小巧,安装简易
图片尺寸1000x1000
电液推杆dytz电动平行式 整体直式dytp工业小型 电动推杆液压推杆
图片尺寸800x1031
电液推杆
图片尺寸677x483
工业电动推杆/上海光剑工业电动推杆/电动推杆公司
图片尺寸951x595
金品汤姆森thomson电动推杆hd系列
图片尺寸893x549
笔式电动推杆液压推杆直流电动推杆微型升降器伸缩杆推杆
图片尺寸893x520
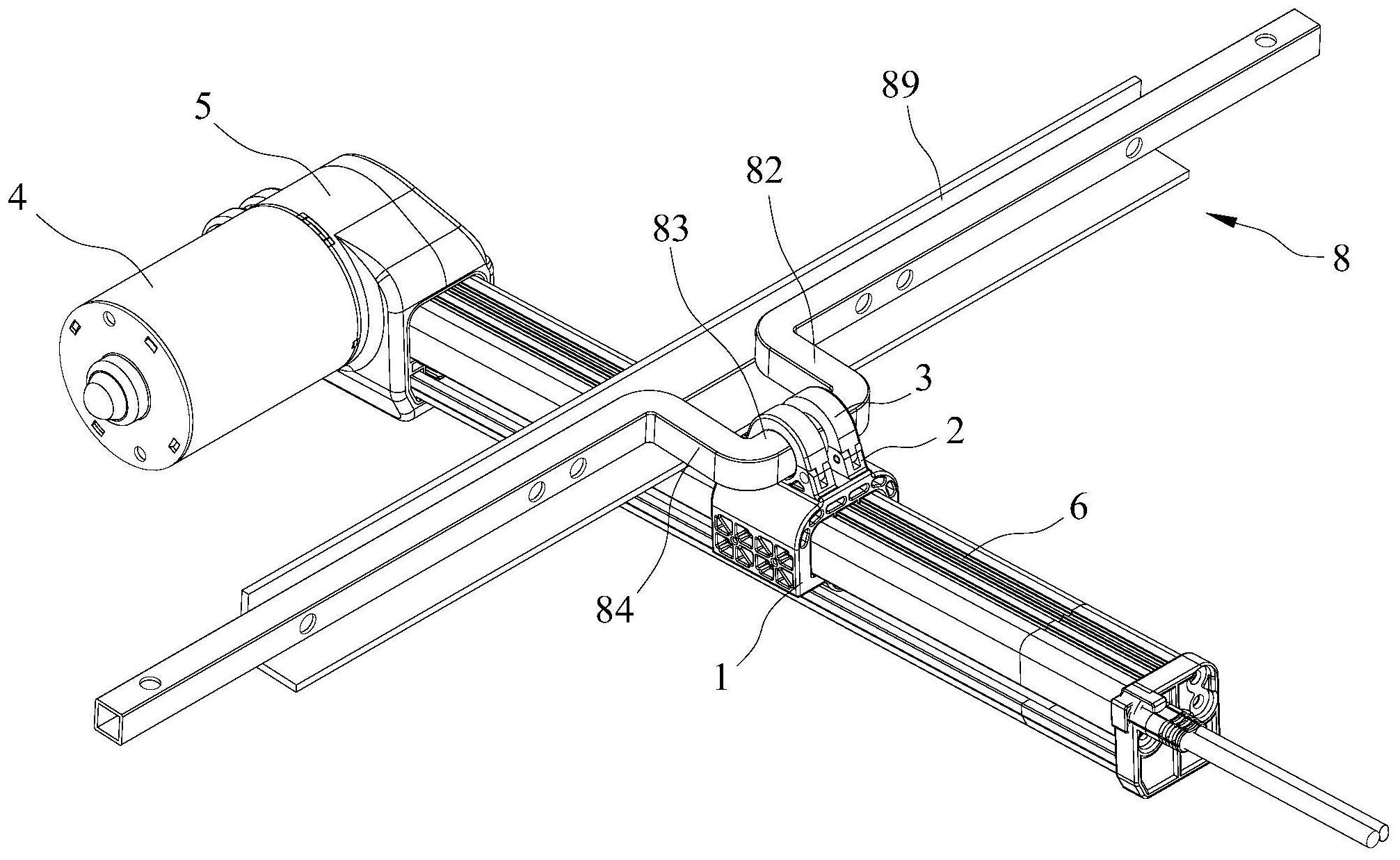
快捷安装的电动推杆及采用该电动推杆的家具
图片尺寸2013x1238
电液推杆活塞杆为什么动作缓慢或者不动
图片尺寸1291x913
电动推杆伸缩杆 24v12v工业推杆电机220v 大推力推拉杆液压升降杆
图片尺寸750x614
无刷电机电动推杆_7折现价385元
图片尺寸469x278