电动缸图纸

一种带气体缓冲功能的电动缸
图片尺寸1000x460
cn211820608u_一种滚珠丝杠和电机一体式的驱动电缸
图片尺寸1485x1005
折返式伺服电动缸额定五吨行程300mm 前法兰 外螺纹
图片尺寸1227x871
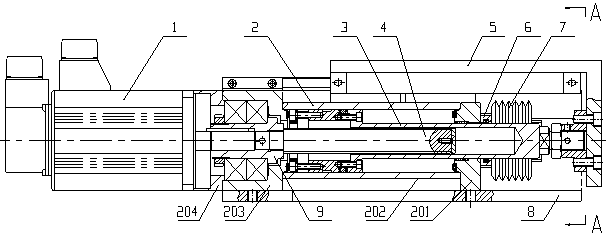
一种紧凑型高功重比的折返式电动缸的制作方法
图片尺寸757x1000
cn107733147a_电缸在审
图片尺寸2761x1279
cn111614197a_一种直线行星滚柱丝杠式伺服电动缸在审
图片尺寸2090x792
一种2级滚珠丝杠电动缸的制作方法
图片尺寸948x1000
装配图电动缸腰部结构图图纸参数图纸id: 977454图纸格式:dwg图纸版本
图片尺寸830x654
伺服电动缸图纸
图片尺寸684x483
la100系列电动缸
图片尺寸950x541
一款在压机上应用比较傲广泛的伺服电动缸
图片尺寸1109x630
cn206925647u_一种用于机床精度控制的电动缸结构有效
图片尺寸606x233
sdg50系列折返式电动缸技术参数——单耳轴 杆端关节轴承
图片尺寸1209x856
一种基于行星传动级间转换的重载多级电动缸的制作方法
图片尺寸450x1000
一种折返行星滚柱丝杠式伺服电动缸的制作方法
图片尺寸689x1000
一种结构紧凑型伺服电缸的制作方法
图片尺寸1000x651
一种二级电动缸制造技术
图片尺寸1000x562
伺服电动缸hh61负载200kg行程1000mm
图片尺寸1131x841
cn207504702u_一种间隙型无杆电缸有效
图片尺寸1907x1298
cn209881573u_一种伺服电缸有效
图片尺寸1000x513