电动调节阀结构图

电动对空排气调节阀ntj961y-p54-100v_搜狐汽车_搜狐网
图片尺寸376x489
021fm.net/system_dntb/upload/t968y电动调节阀结构图.jpg
图片尺寸527x376
进口电动防爆调节阀结构图1.jpg
图片尺寸391x523
电动调节阀的结构图
图片尺寸821x687
电动调节阀结构图
图片尺寸437x364
进口电动卫生级调节阀结构图1.jpg
图片尺寸562x561
进口电动单座调节阀结构图.jpg
图片尺寸700x761
防爆电动调节阀lyzdlm16产品说明书资料介绍
图片尺寸600x910
zazm套筒式耐高温电动调节阀结构图
图片尺寸600x249
zazp电动调节阀基本结构
图片尺寸642x446
电动压力调节阀供应
图片尺寸640x491
电动调节阀结构图如下:电动调节阀主要是依靠电动执行器带动调节阀的
图片尺寸395x309
进口电动三通调节阀结构图.jpg
图片尺寸700x838
电动高压调节阀
图片尺寸638x1207
电动调节阀的结构与工作原理doc
图片尺寸860x1216
动态平衡电动调节阀结构示意图
图片尺寸425x400
电动轴流式调节阀/电动燃气调压阀/天然气管道调压阀-上海奇众阀门
图片尺寸598x716
电动调节阀工作原理,电动调节阀接线原理图
图片尺寸555x417
t968y电动调节阀-上海轩工阀门有限公司
图片尺寸717x400
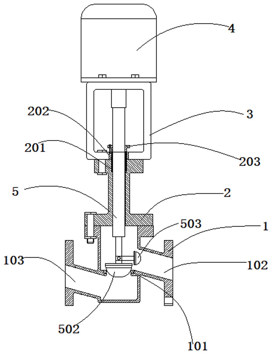
cn213575622u_一种带有节能辅助结构的电动调节阀有效
图片尺寸901x1170