电压表内部构造

电压表工作原理(电流表与电压表的原理)「2022推荐」-小高教学网
图片尺寸1152x704
拆一个220v电压表和一个小磁罐变压器
图片尺寸1280x960
t24avc41av电流电压表拆解
图片尺寸1080x1440
直流高压电压表
图片尺寸1280x720
电压表和电流表的区别如题_作业帮
图片尺寸450x405
电压表的原理是什么(电流表或电压表的原理) | 说明书网
图片尺寸1200x756
拆解10块钱买的电压表,和电流表有啥区别,看看内部究竟长什么样
图片尺寸1474x983
拆一个电压表,顺便看看内部结构,顺便抢救一下
图片尺寸1728x1080
电压表内部包含一个磁铁和一个导线线圈.
图片尺寸1157x1280
二,电压的测量电压表的构造:三个接线
图片尺寸2834x3000
hp3586a选频电压表拆解/清理/使用
图片尺寸1400x931
一,单相电能表的结构 1,驱动元件 驱动元件由电压元件和电流元件
图片尺寸1728x1280
国产q4-v型静电电压表结构图
图片尺寸400x460
4位电压电流表内部
图片尺寸2592x1944
hp3586a选频电压表拆解/清理/使用
图片尺寸1400x931
电压表的内部结构和原理,你理解的全面不?
图片尺寸1024x576
电动式电压表
图片尺寸1920x2560
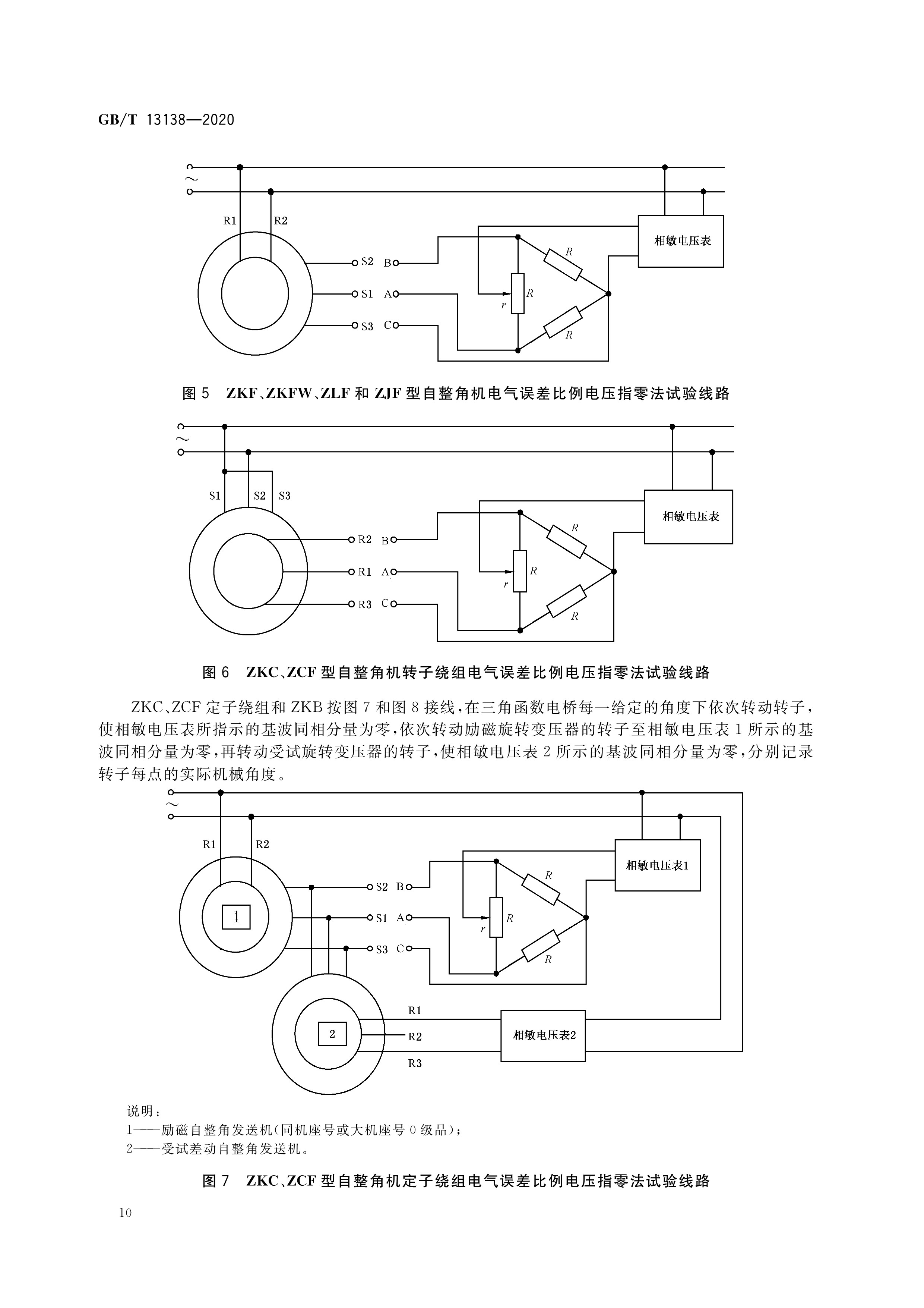
gb/t 13138-2020
图片尺寸2480x3508
一节干电池的电压是多少(电压表的工作原理是什么)-滕韵技术生活网
图片尺寸900x892
电流表和电压表ppt课件ppt
图片尺寸920x690