电子枪结构图

电子枪
图片尺寸373x409
电子是一种物质,那么电子枪的电子哪里来?为什么用不完呢?专家回答.
图片尺寸491x321
p99半自动手枪参照之前该公司生产的瓦尔特p88的结构改进而成,该枪械
图片尺寸640x533
电子枪
图片尺寸532x285
图 电子枪结构
图片尺寸1575x675
二极电子枪的基本结构
图片尺寸565x377
电子枪
图片尺寸273x527
电子枪原理
图片尺寸350x250
三,电子枪原理- -结构
图片尺寸527x183
cn109786192a_电子枪组件,其工作方法及包含该电子枪组件的微波管在审
图片尺寸1000x687
品牌官方旗舰m416手自一体突击电动连发吃鸡软弹枪儿童玩具枪男孩全套
图片尺寸750x1304
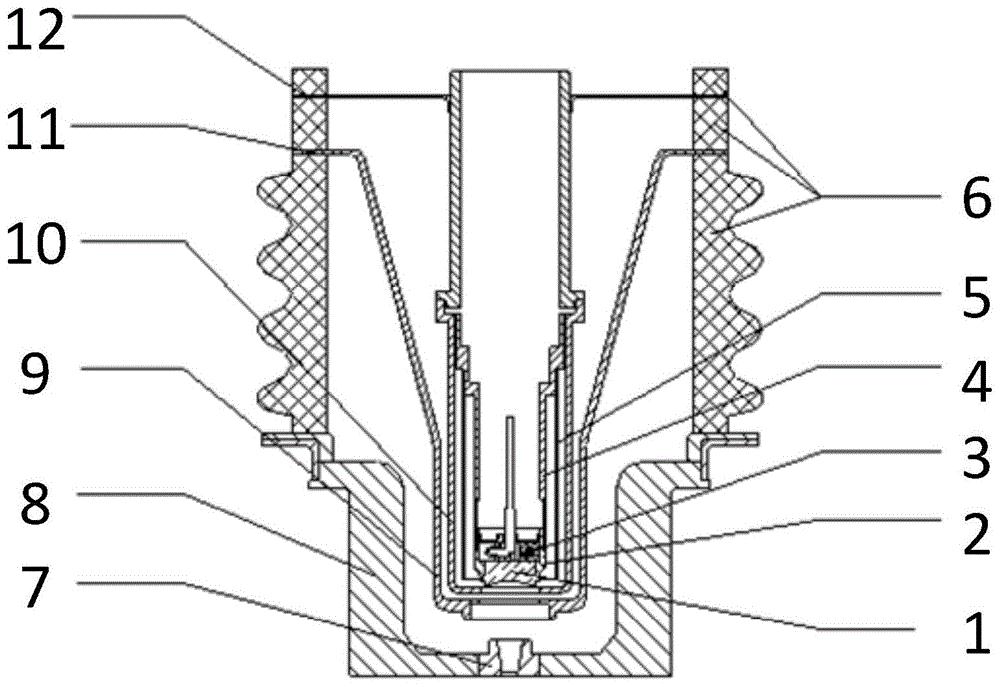
一种手机后盖覆膜的电子枪的制作方法
图片尺寸374x353
皮尔斯电子枪
图片尺寸394x281
电子枪的基本结构
图片尺寸585x366
cn1518040a_彩色阴极射线管的电子枪结构失效
图片尺寸709x498
皮尔斯电子枪
图片尺寸608x557
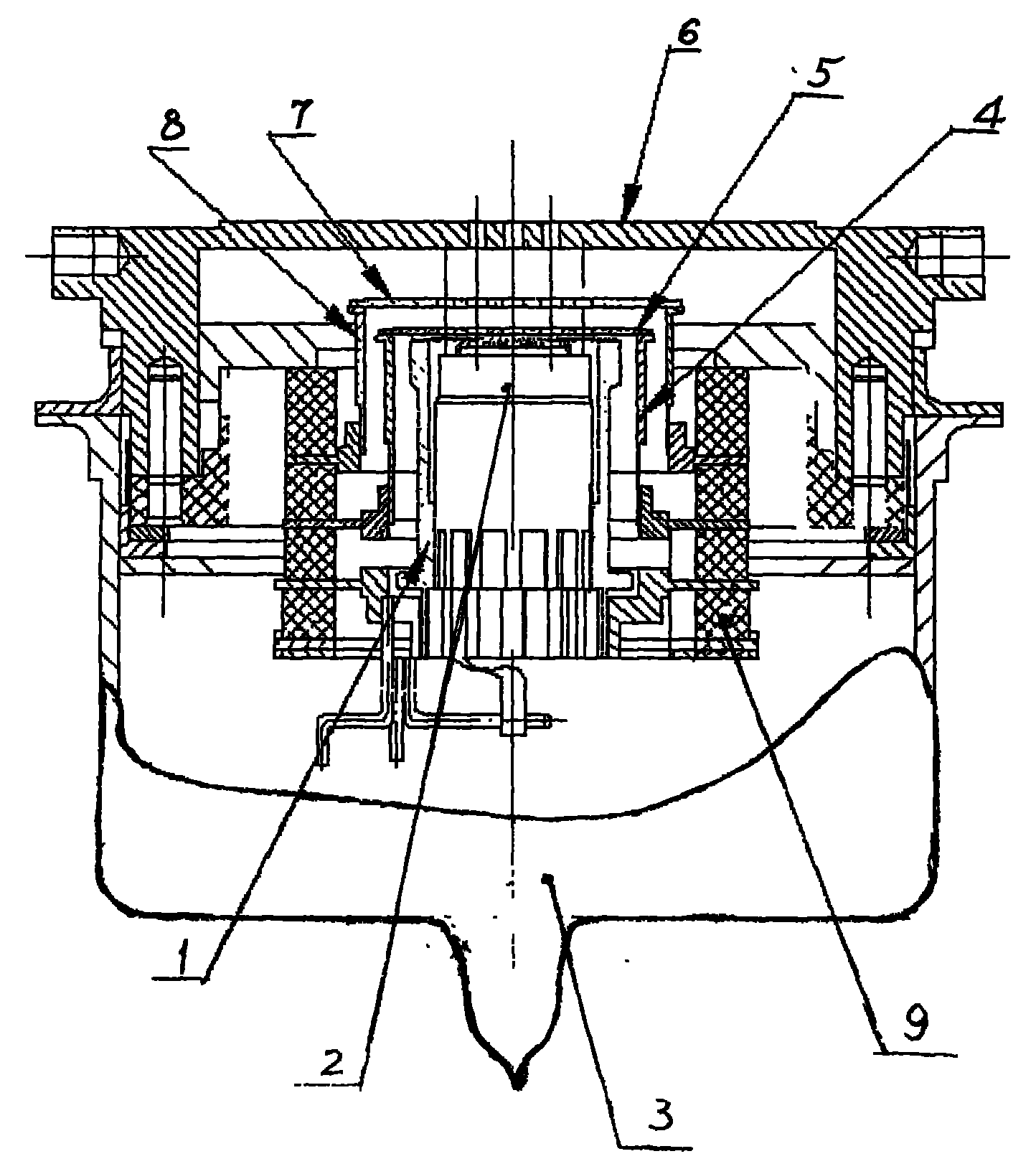
cn1043586a_间热式阴极部件及其关联的电子枪结构失效
图片尺寸1152x1491
一种冷阴极大功率电子束枪
图片尺寸1385x2318
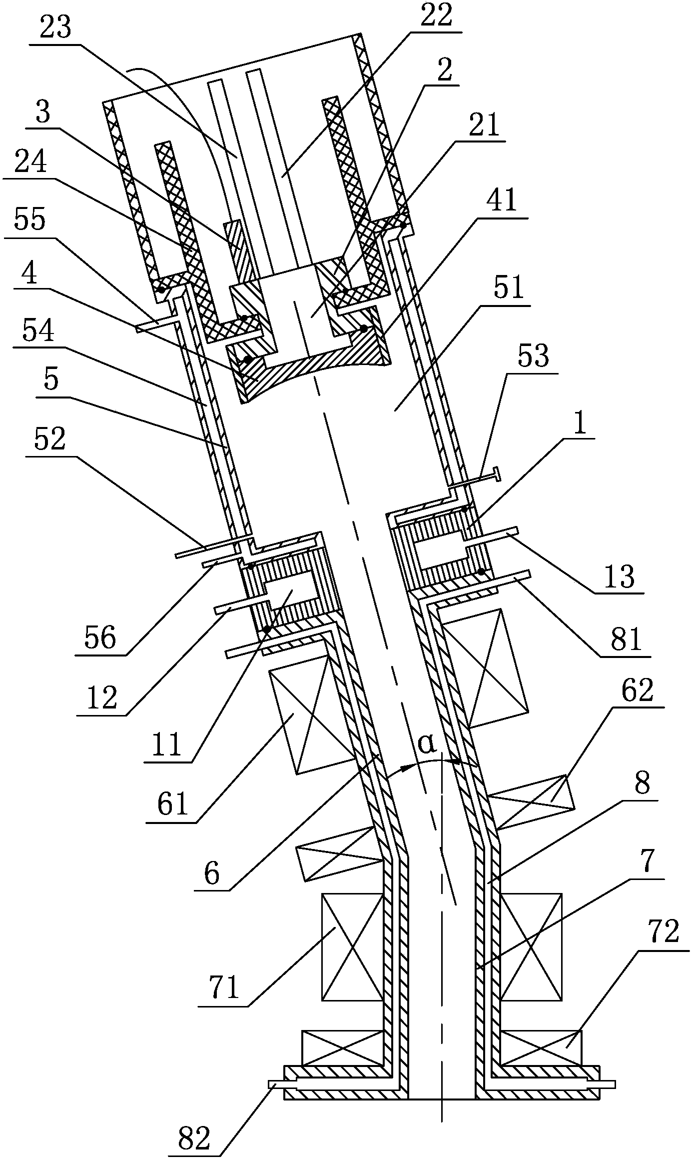
包括阴极组件,内筒,中筒,外筒形套装结构,电子枪绝缘体外壳和阳极,其
图片尺寸1444x1629
电击枪是一种电子防暴设备,通常包括主体和弹匣组件,主体中包括电路
图片尺寸444x383