电子烟弹结构

boulder电子烟弹结构原理.png
图片尺寸602x643
电子烟弹粘接用什么胶水好
图片尺寸750x387
16 电子烟结构图 790
图片尺寸790x481
微距图解美帝boulder铂德电子烟神秘园3号烟弹并简析原理
图片尺寸1280x960
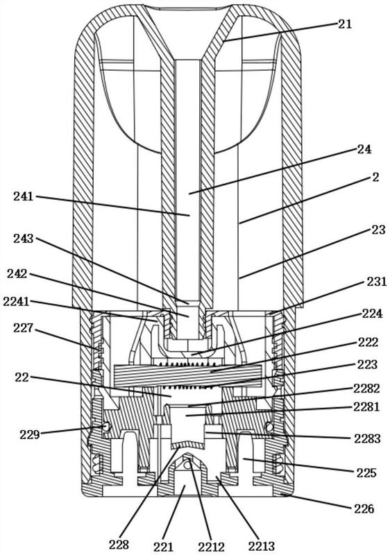
一种卡扣式防童打开的一次性电子烟烟弹装配结构的制作方法
图片尺寸611x1000
电子烟烟弹
图片尺寸626x1000
一种设有棉芯雾化器的电子烟烟弹-爱企查
图片尺寸562x800
电子烟小烟类悦克
图片尺寸647x527
电子烟用填充物和使用其的电子烟烟弹的制作方法
图片尺寸1000x532
电子烟有尼古丁算烟草成分_有烟草证怎么订烟_烟草原味的烟都有哪些
图片尺寸698x640
一种烟弹隐藏式的电子烟
图片尺寸1884x2717
悦刻一二三代电子烟怎么选
图片尺寸532x689
电子烟的构造原理
图片尺寸920x690
随时掌握最新资讯动态 ____________________ 电子烟的结构及原理
图片尺寸1080x550
cn211431070u_带凸起式雾化芯的烟弹和电子烟
图片尺寸1668x1326
【真相】电子烟,"披着羊皮的狼"
图片尺寸435x341
电子烟结构件及常用塑料特性
图片尺寸546x260
一种设有吸油棉的电子烟烟弹-爱企查
图片尺寸536x800
鹤岗!电子烟的好处(2023已更新)-第1张图片-m福网
图片尺寸1000x549
电子烟知识培训ppt
图片尺寸1080x810