电导率仪装置图

(数显)电导率仪dds-11a_上海雷磁
图片尺寸700x522
电导率仪使用说明
图片尺寸599x685
电导率仪常用知识和问题
图片尺寸1529x1200
使用电导池测量电导率
图片尺寸948x756
一种电导率仪电计测量装置-爱企查
图片尺寸800x580
在线电导率仪 东莞工业检测tds电极探头485通讯纯水电导率测试仪
图片尺寸790x516
一种纯水电导率检测仪-爱企查
图片尺寸530x799
电导率仪检定装置操作规程
图片尺寸399x161
c-216在线电导率测试仪
图片尺寸662x435
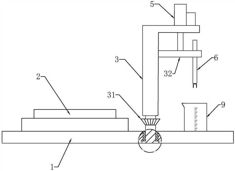
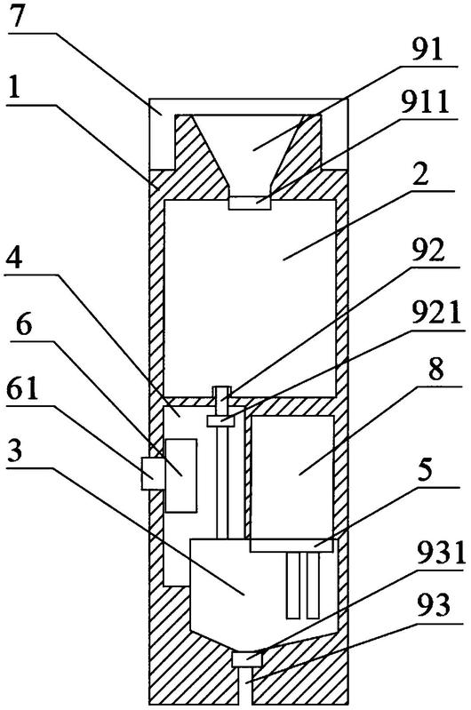
一种电导率检测装置
图片尺寸588x394
一种实验室用电导率测定装置的制作方法
图片尺寸350x443
电导率测试电导率测电导率的仪器
图片尺寸680x403
cn201203649y_一种虚拟仪器控制的四电极法电导率测试装置失效
图片尺寸1743x1307
sdg01,sdg02型 高纯水电导率仪
图片尺寸1984x1550
十二电导率仪
图片尺寸554x271
供应dds-11c实验室电导率仪--上海三信
图片尺寸426x290
电导率仪原理及使用
图片尺寸458x258
一种水质检测用耐腐型电导率仪-爱企查
图片尺寸800x548
电导率仪的检测原理及其应用
图片尺寸523x291
油料电导率仪检定装置
图片尺寸600x552