电弧炉图纸

电弧炉基本构造
图片尺寸1194x908
cn210636023u_一种冶炼废钢用电弧炉有效
图片尺寸1882x1847
电弧炉无渣出钢技术
图片尺寸600x646
cn201666734u_一种电弧炉炉盖旋开式装置失效
图片尺寸2028x1772
15吨电弧炉总图下载(dwg格式)机械cad图纸
图片尺寸1109x780
某厂70t电弧炉总设计图 - 换热压力容器图纸 - 沐风网
图片尺寸820x576
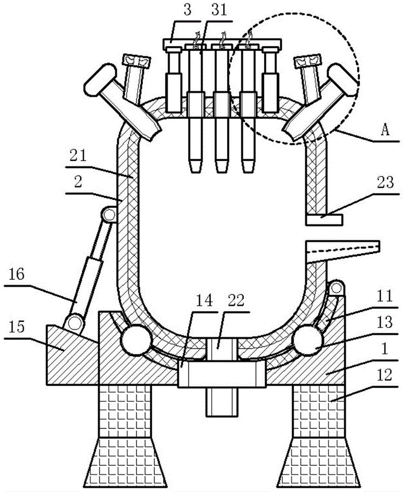
电弧炉制造技术
图片尺寸886x1000
cn2276236y_直流电弧炉通过倾动顶电极控制偏弧的装置失效
图片尺寸960x715
20t/12500kva-ebt电弧炼钢炉-图纸供应-图纸交易网
图片尺寸1973x1404
真空电弧炉
图片尺寸567x604
炼钢电弧炉供电系统示意图
图片尺寸600x880
图2-23 交流电弧炉(a)和直流电弧炉(b)的结构示意图
图片尺寸1920x795
一种具有均匀投料功能的电弧炉
图片尺寸821x1000
cn211255980u_一种高功率炼钢电弧炉有效
图片尺寸510x439
一种高功率炼钢电弧炉的制作方法
图片尺寸510x439
cn102362137a_电弧炉有效
图片尺寸1525x1165
直流电弧炉
图片尺寸919x1455
一种电弧炉的制作方法
图片尺寸949x1000
一种真空电弧炉的制作方法
图片尺寸569x828
cn203768394u_一种用于炼钢的电弧炉失效
图片尺寸1000x574