电批结构

手用电批 电动起子 高转无刷电动螺丝刀 新款通用
图片尺寸800x1028
【wx 400电动螺丝刀 电批 800系列电批】广东深圳w
图片尺寸800x524
3(n*m) 电钻结构 手枪式 电钻是否可调速 无
图片尺寸750x1241
sd-a1010l sudong速动无刷电动螺丝刀 无刷电批 无刷电动起子
图片尺寸1920x1920
德尔逊电动螺丝刀 #电批 - 抖音
图片尺寸1179x1592
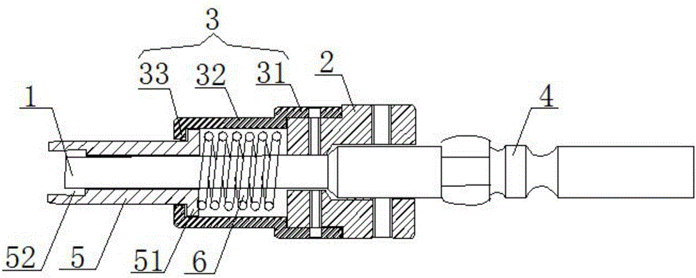
一种具有扭力防呆结构的电批的制作方法
图片尺寸443x293
达威delvo电批电动螺丝刀dlv8144-mkc 现货特价销售
图片尺寸961x387
蒸汽喷雾型电熨斗结构图电熨斗的底板一般用铸铁经电镀,电抛光,或用铝
图片尺寸611x471
全自动螺丝刀_厂家直销 全自动螺丝刀 无刷电批电动
图片尺寸511x291
日本好握速cl-2000分解图
图片尺寸600x867
国强 电动工具 锤镐两用 zic-ng03-26 h261-2大功率1050w钻开孔
图片尺寸871x458
现货供应 奇宝全自动电动螺丝刀 电动起子800t系列精准小扭力电批
图片尺寸650x450
新款 工业级36vf 42vf双速锂电池充电冲击手电钻家用
图片尺寸748x669
一种新型电锤
图片尺寸2632x1432
博世正品620w四坑电锤gbh 2-22 混凝土专用钻孔冲击钻 正反转调速
图片尺寸750x514
供应kls-620 半自动螺丝刀 ø5电动螺丝批 电批
图片尺寸800x325
一种多批头同步旋拧的电批结构
图片尺寸1790x1755
本实用新型提出了一种伸缩电批头,直接将堵孔螺钉安
图片尺寸1000x400
拆解保养一支无刷电批cosharemd03
图片尺寸1280x960
基于手持式伺服电批的智能拧紧解决方案_螺丝_机器人_关节
图片尺寸1657x1173