电机刹车装置结构

电机断电刹车装置及电机制造方法及图纸
图片尺寸1000x908
电磁制动刹车电机的工作原理
图片尺寸650x608
com - 03-17 制动电机网-制动电机-中国制动电机网cnsb.
图片尺寸650x716
刹车电机-制动器原理结构图
图片尺寸564x296
德国abbmqaejqaej制动电机制动器abb电机刹车abb电机抱闸
图片尺寸800x380
150200yejsdz80电机电磁刹车制动器
图片尺寸750x750
洗衣机刹车盘双桶洗衣机脱水甩桶拉线电机刹车线刹车片装置配件
图片尺寸800x800
现代挖掘机行走马达结构原理结构图!
图片尺寸643x648
cn201053465y_轮毂电机刹车装置失效
图片尺寸921x1347
一种设有失电驻车保护功能的epb刹车装置的制作方法
图片尺寸1000x780
x技术 最新专利 发电;变电;配电装置的制造技术 一种电机的制动器结构
图片尺寸1000x751
电磁抱闸制动装置由电磁操作机构和弹簧力机械抱闸机构组成,下图所示
图片尺寸345x294
5kw南京江陵总厂电机电磁刹车线圈制动器 ¥49.00售出:12件
图片尺寸750x750
cn102182772a_一种管状电机制动装置改进结构失效
图片尺寸1674x1174
cn105337445a_用于管状电机刹车结构有效
图片尺寸1000x400
发电;变电;配电装置的制造技术 为了解决现有的电机对碳刷弹簧结构和
图片尺寸980x919
电机制动器应用案例分析
图片尺寸556x316
一种制动电机制动器的防腐防尘装置制造方法及图纸
图片尺寸1000x755
断电抱闸 80nm 170vdc 80 dltz3 失电电磁制动器 广德电器电机刹车
图片尺寸600x600
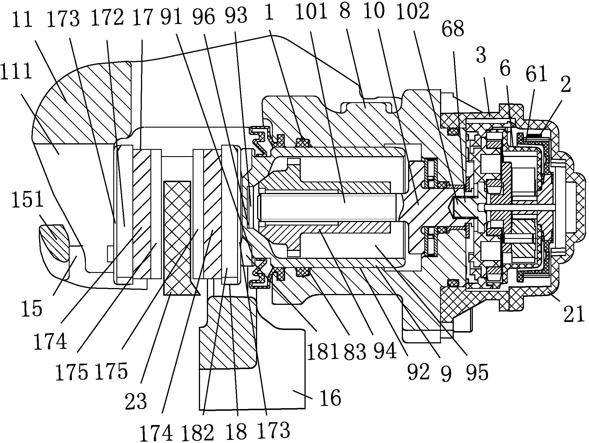
一种电动车带刹车及驻车制动器的电机结构装置的制作方法
图片尺寸814x1000