电机固定座图纸

c型马达固定座-轴承座-电机座(马达座)|螺母座|锁紧螺母|电动缸|wkk型
图片尺寸800x1130
一种具有角度调节功能的电机固定座的制作方法
图片尺寸444x237
具体为一种可调式电机安装底座,包括固定底座和调节底座,所述调节底座
图片尺寸464x239
一种电机老化固定座的制作方法
图片尺寸443x344
一种步进电机座的加工工艺及夹具设计- 设计方案图纸 - 沐风网
图片尺寸820x580
一种便于稳定安装直线电机的固定座的制作方法
图片尺寸443x340
一种便于调节的数控机床电机固定座的制作方法
图片尺寸444x358
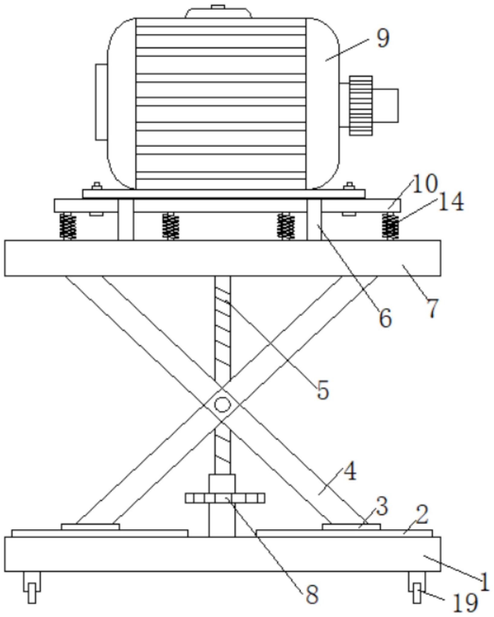
一种伺服电机用支撑固定底座
图片尺寸1635x2042
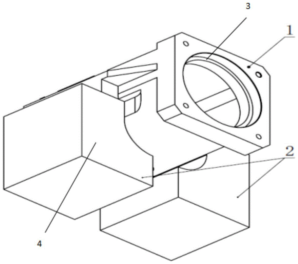
一种主轴电机固定座的制作方法
图片尺寸714x1000
一种平行轴齿轮电机固定用固定座的制作方法
图片尺寸444x370
一种软体无人机电机固定座的制作方法
图片尺寸443x404
一种可调节的电机固定座的制作方法
图片尺寸1000x997
一种3d打印集成式飞行器电机固定座
图片尺寸443x439
jgb37电机固定定座支架喷塑螺丝智能配件智能车
图片尺寸750x500
一种三相异步电机用连接底座
图片尺寸1962x1698
一种双工位电机固定座
图片尺寸1000x671
一种数控机床电机固定座及其加工工艺
图片尺寸1000x888
一种电机固定座及空调器的制作方法
图片尺寸443x287
一种可横向调节的电机底座的制作方法
图片尺寸443x301
一种空气压缩机底座的电机固定结构的制作方法
图片尺寸1000x739