电机转子导条

tesla电机专利技术解读
图片尺寸600x400
电机转子端环,导条,定子铜环连接件,铬锆铜材质,纯 - 抖音
图片尺寸1440x1920
电机转子断条,让人崩溃
图片尺寸931x3519
笼式转子绕组是在转子铁芯的小槽中放入金属导条,再在铁芯两端用导环
图片尺寸640x350
鼠笼式转子导条:用途,优点,故障等
图片尺寸600x397
导条
图片尺寸530x285
这是全自动洗衣机的电机转子,哪里有问题吗,哪个部位是笼条,如果断环
图片尺寸960x1280
电机转子端环,导条,定子铜环连接件,铬锆铜材质,纯 - 抖音
图片尺寸1440x1920
电机转子导条 紫铜端环 锻造工艺 纯铜材质99.97% 量大批发
图片尺寸750x750
在铜条 两端各用一个铜环(称为端环)把导条连接起来,称 为铜排转子
图片尺寸1080x810
现货ye2系列三相异步电机定转子180m 2极 起重及冶金用绕线转子 - 痕
图片尺寸800x800
电机转子端环,导条,定子铜环连接件,铬锆铜材质,纯 - 抖音
图片尺寸1440x1920
鼎城铬锆铜厂家定制
图片尺寸500x300
高压电机电机转子笼条断条该怎么办
图片尺寸399x300
转子电阻大小会影响到电机的哪些性能
图片尺寸739x587
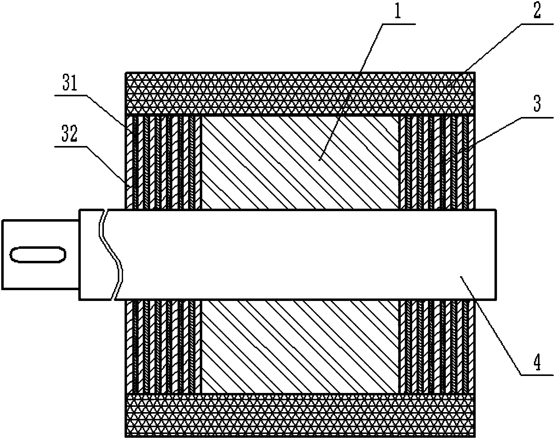
具有铜导条的电机转子结构
图片尺寸1797x1419
大型异步鼠笼式电机转子断条改造新工艺
图片尺寸518x542
矽钢;电工钢;定转子;开平;分条;激光切割;线切割;无取向;高导磁;低
图片尺寸290x290
北票转子滚筒线圈销售
图片尺寸1600x888
电机转子采用斜槽时,扭斜度如何选择?
图片尺寸1080x810