电机轴结构

电主轴结构:电主轴由无外壳电机,主轴,轴承,主轴单元壳体,驱动模块和
图片尺寸640x387
cn207414356u_一种数控车床自锁电主轴结构有效
图片尺寸1958x1183
数控雕刻机主轴故障以及解决方法
图片尺寸865x400
图2gd-Ⅱ型高速电主轴的结构电机转子和主轴均为钢质材料,材料的弹性
图片尺寸418x216
电机的组成和结构
图片尺寸1243x451
数控机床高速电主轴结构分析及应用
图片尺寸594x368
电主轴结构:编辑于 2017-04-27 16:34数控机床写下你的评论.
图片尺寸471x279
cnc加工中心的电机主轴结构介绍
图片尺寸643x420
电主轴结构及工作原理
图片尺寸640x336
这批电机为何会窜轴?
图片尺寸500x321
电机本体之电主轴
图片尺寸720x514
机械/仪表 > 电主轴结构的基本构成所谓电主轴结构就是将电机的转子
图片尺寸526x362
变形进行分析,综合地对电机轴的结构参数和工作性能进行全面的优化
图片尺寸1871x612
谢谢了!
图片尺寸640x480
电机连轴结构的制作方法
图片尺寸1000x425
一次看明白机床主轴传动结构
图片尺寸640x415
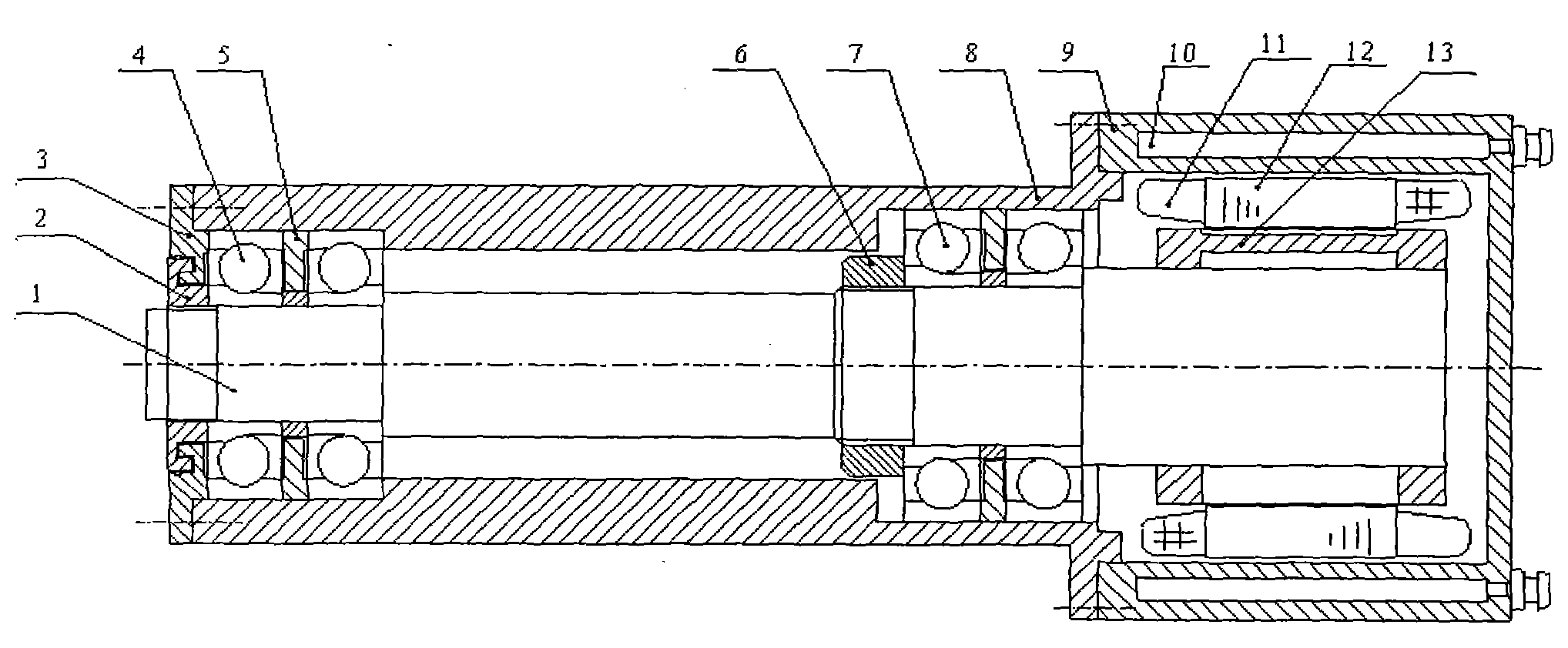
cn101707418b_一种易更换电机的电主轴设置结构及其使用方法有效
图片尺寸2464x1668
fooke加工中心所用电主轴由无外壳电机,主轴,轴承,主轴单元壳体,驱动
图片尺寸600x397
cn110170664a_一种高速精雕机的电主轴结构在审
图片尺寸399x1000
cn201623579u_电机后置式电主轴失效
图片尺寸2036x842