电杆结构

迷之操作!新栽的电线杆,工人竟在其底部撒食盐,电线杆也吃盐?
图片尺寸640x678
配电线路混凝土电杆组立施工
图片尺寸290x436
迷之操作新栽的电线杆工人在其底部挖坑撒食盐电线杆吃盐
图片尺寸660x787
杆体结构及配参表
图片尺寸810x486
cn207317985u_一种基于张力检测的电力电线杆结构有效
图片尺寸1090x1871
一种可调整架线高度的临时电线杆制造技术
图片尺寸911x1000
电动推杆内部结构图
图片尺寸966x580
第三钢板圈和安装底盘,所述电杆的内腔为中空结构,所述电杆的内腔侧壁
图片尺寸1415x2142
一种基于张力检测的电力电线杆结构制造技术
图片尺寸580x1000
pd2-8-11 钢筋混凝土电杆各种附件安装做法
图片尺寸2128x1336
一种用于空心电杆的钢结构-爱企查
图片尺寸1493x2495
一种新型水泥电线杆的制作方法
图片尺寸662x867
一种内置电线的伸缩杆结构
图片尺寸1435x1908
建筑材料工具的制造及其制品处理技术
图片尺寸829x1000
架空线路结构 1—电杆;2—横担;3—导线;4—避雷线;5—绝缘子
图片尺寸1080x810
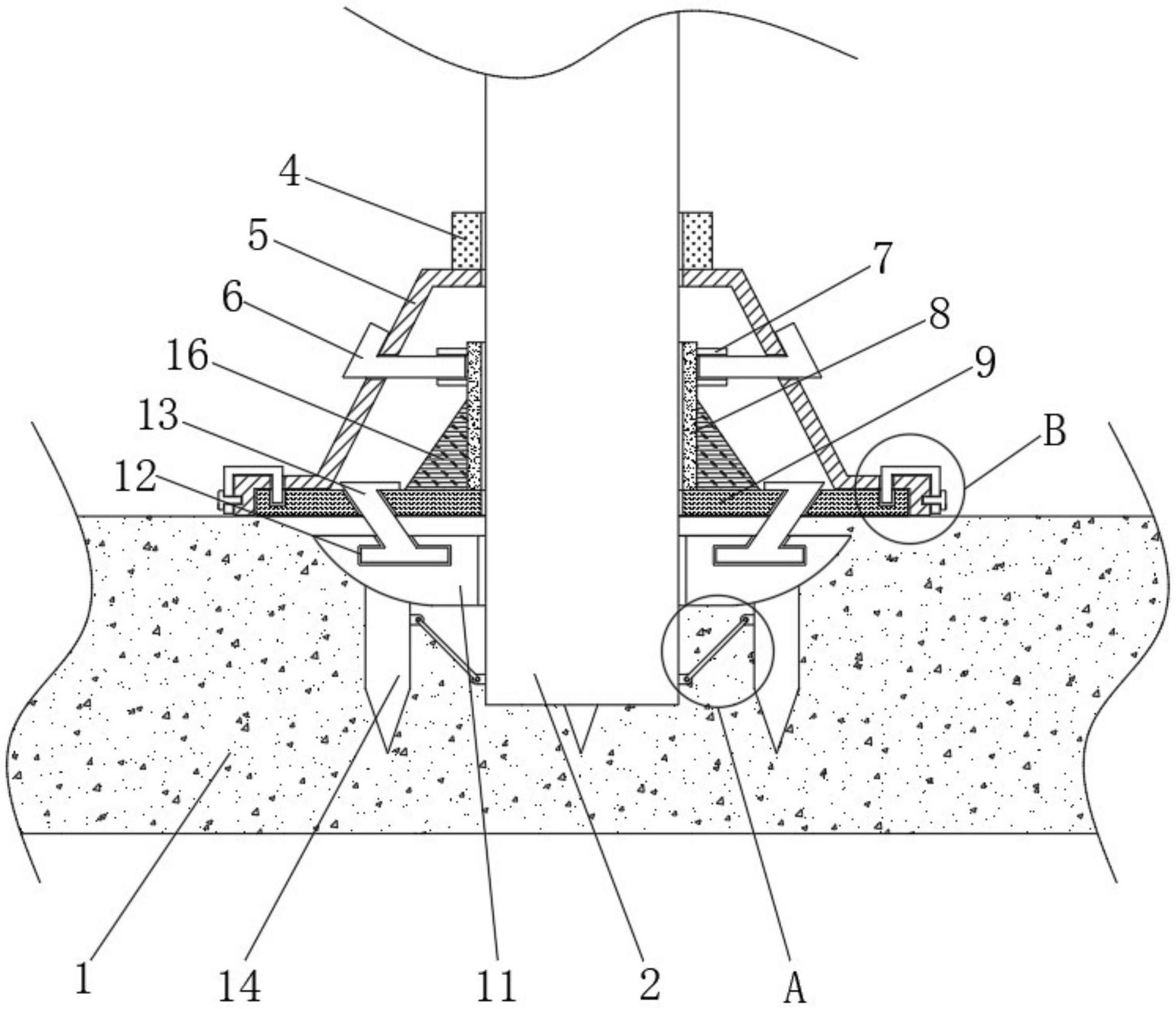
一种混凝土电杆固定结构
图片尺寸1868x1602
一棵电杆上有些什么金具
图片尺寸960x720
绝缘杆,后部绝缘杆和手柄,前部绝缘杆与中部绝缘杆通过插杆结构一连接
图片尺寸686x1000
组成:导线,电杆,绝缘子,线路,金具等.
图片尺寸436x261
一种电杆-爱企查
图片尺寸800x472