电梯井道结构图

厂家直销广东广菱品牌载货电梯汽车电梯,货梯(全国免保1年)
图片尺寸531x787
电梯井结构图
图片尺寸474x467
电梯井漏水的危害及渗漏治理
图片尺寸726x678
定制钢结构电梯井道#小型别墅电梯设计#支持定做各种尺寸 - 抖音
图片尺寸1224x1552
某电梯井节点构造详图-混凝土节点详图-筑龙结构设计论坛
图片尺寸560x395
电梯设计图纸,后配重结构即配重位置在轿厢的后方,土建井道净尺寸为
图片尺寸1079x1146
内折弯钢架井道 #别墅电梯钢架井道 #铝合金井道 #别墅电梯 - 抖音
图片尺寸828x1037
求助钢结构电梯井道的设计图片1
图片尺寸2338x1700
楼梯中间电梯钢结构井道怎么焊接.
图片尺寸1413x2193
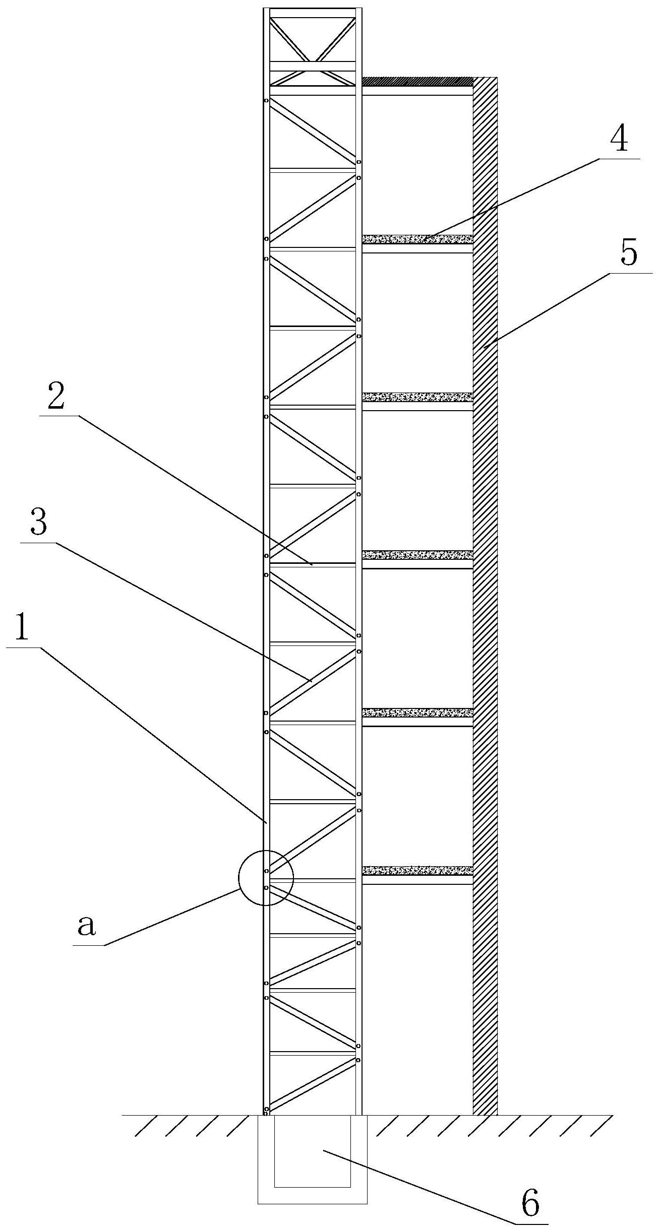
一种带钢龙骨预制轻混凝土电梯井道模块及其制作方法
图片尺寸1715x2082
一种预制电梯井的顶部结构
图片尺寸1487x1679
中三别墅电梯钢结构井道制作方法
图片尺寸1080x1312
一种电梯井道-爱企查
图片尺寸1084x1516
一栋楼一共13层,但电梯为什么只到第12层呢?
图片尺寸393x786
昨天四川达州工地完工连夜赶回武汉这个电梯井制作工地工期20天 - 抖
图片尺寸1440x2672
单开门货梯钢结构节点详图
图片尺寸760x570
一般家用电梯井结构设计施工图(含大样图)
图片尺寸1440x1020
电梯井道的基础知识
图片尺寸561x441
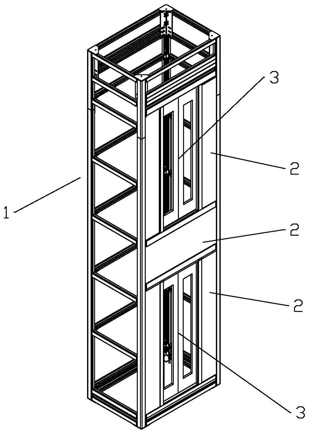
cn111719817a_一种框架式钢结构电梯井道
图片尺寸1311x2443
某观光电梯井道钢结构设计cad全套施工图含设计说明共10张图
图片尺寸610x861