电梯悬挂装置

实拍国外的链条悬挂电梯
图片尺寸660x881
安全钳是电梯的安全保护装置,是电梯在最危急关头的最后一道安全保障
图片尺寸628x1161
平衡补偿装置是悬挂在轿厢和对重的底面,在电梯升降时,其长度的变化
图片尺寸1080x1920
家用电梯井道底坑如何做好防水工作
图片尺寸600x600
电梯负载125试验背后真相新梯变病梯业主权益谁来守护
图片尺寸800x986
一种电梯轿厢悬挂装置的制作方法
图片尺寸1000x895
长林悠草 馆藏分类 电梯安全钳 装置 是在限速器的操纵下,当电梯
图片尺寸580x401
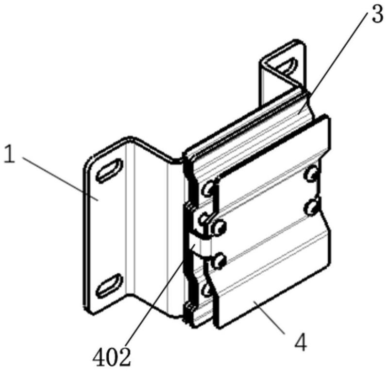
一种电梯轿厢悬挂装置的紧固装置的制作方法
图片尺寸1000x896
电梯的构成电梯八大系统在曳引式提升机构中,钢丝绳悬挂在曳引轮绳槽
图片尺寸640x480
跟踪装置的作用主要是提供移动轨迹,使运行更加顺畅,以装置,当电梯门
图片尺寸484x300
一种电梯随行电缆悬挂装置的制作方法
图片尺寸1000x981
鑫峰建筑井道施工电梯组成部分
图片尺寸680x537
电梯负载125试验背后真相新梯变病梯业主权益谁来守护
图片尺寸563x649
对于电梯的曳引系统,钢丝绳,轿厢悬挂装置等核心组件无疑是一场巨大的
图片尺寸588x392
工程科技 信息与通信 电梯系统简介ppt 井道部件 平层感应装置
图片尺寸1080x810
随行电缆悬挂装置和配备有该随行电缆悬挂装置的电梯-爱企查
图片尺寸799x763
列车有了"脚"当然还得有"腿"地铁车辆转向架主要由构架,轮对,一系悬挂
图片尺寸640x426
cn201195654y_自由悬挂式的升降装置失效
图片尺寸1022x2167
一种用于电梯电缆的悬挂装置的制作方法
图片尺寸1000x987
一种梯级电梯踏板悬挂装置
图片尺寸1846x1417