电梯电缆导向架
![[提问]关于升降机防冲顶及电缆导向架问题](https://i.ecywang.com/upload/1/img1.baidu.com/it/u=1092957109,1981257922&fm=253&fmt=auto&app=138&f=JPEG?w=500&h=889)
[提问]关于升降机防冲顶及电缆导向架问题
图片尺寸2268x4032
谁知道这样的施工电梯 用的电缆 属于什么电缆?叫什么名称.谢谢
图片尺寸375x500
施工电梯可采用的三种电缆导向装置
图片尺寸3800x2808
谁知道这样的施工电梯 用的电缆 属于什么电缆?叫什么名称.谢谢
图片尺寸375x500
导线架电线电缆钢丝绳导向架井架三架,可单独使用,亦可 - 抖音
图片尺寸4080x2296
电梯检验过程中遇到电梯井道与布置图不一致的处理方式
图片尺寸927x597
2,电缆导向架设置应符合使用说明书及规范要求.
图片尺寸514x431
施工升降机系统按钮失效应急处理办法!
图片尺寸600x450
家里装电梯是什么感觉,今天我们一起了解一下什么是家用电梯!
图片尺寸1080x718
电缆导向装置的三种方式稳定施工电梯吊笼上下作业
图片尺寸1242x828
未安装电缆导向架
图片尺寸1080x1440
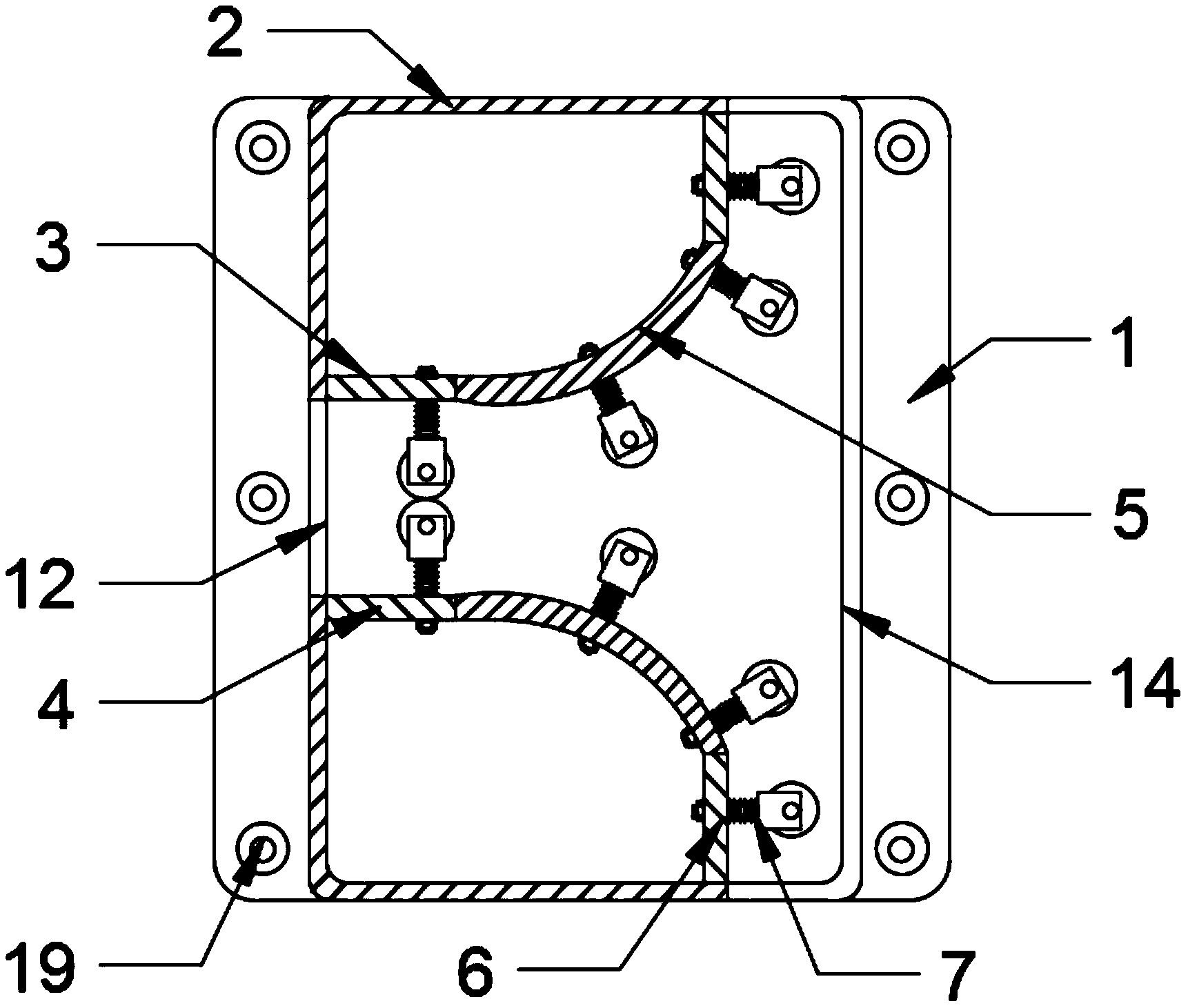
一种升降机电缆导向装置-爱企查
图片尺寸1722x1461
家里装电梯是什么感觉,今天我们一起了解一下什么是家用电梯!
图片尺寸1080x714
电缆放线架#电缆放线支架#电缆盘托架.电缆放线架厂家直销 型 - 抖音
图片尺寸1440x1920
电线电缆导线装置钢丝绳导向架三架井架,双旋钮井架,德 - 抖音
图片尺寸1802x2002
电梯维保人之美我的电梯最美丽
图片尺寸750x1000
电梯井内固定竖向电缆的支架叫什么名字
图片尺寸450x402
电缆放线架#电缆放线支架#框架式放线支架#门式电缆盘支架 - 抖音
图片尺寸1440x1920
谁知道这样的施工电梯 用的电缆 属于什么电缆?叫什么名称.谢谢
图片尺寸375x500
20吨电缆放线架#电缆轴支架#放线支架.20吨电缆放线架 自 - 抖音
图片尺寸1440x1920