电梯轿门机械锁安装图

小区门禁专用单头电机锁灵性锁楼宇对讲电锁静音锁
图片尺寸811x693
执手锁安装示意图
图片尺寸398x338
背景技术:目前传统的电梯轿门锁装置中,大部分轿门锁机械部分和电气
图片尺寸726x1000
灵动锁dj02灵性锁电机锁单元门楼宇电控锁 门锁门禁锁电子锁 双头灵性
图片尺寸750x1159
各种门禁锁安装图
图片尺寸790x557
安装尺寸图:产品名称:→dj02相关产品:宏泰dj02电机锁 , 智能锁
图片尺寸500x707
锁具厂家批量供应机械门锁,室内欧式机械门锁,单舌防盗机械门锁
图片尺寸750x654
宁波欣达pb307新老款轿门门锁 轿门机械联锁宏大电梯门锁电梯配件
图片尺寸800x800
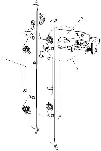
门锁异步门刀,在异步门刀的一侧设有固定在电梯轿门装置的门机底板上
图片尺寸430x642
一种电梯连杆轿门锁装置及其控制方法与流程
图片尺寸290x443
好新优b1半自动智能门锁产品相关说明
图片尺寸554x702
75 m/s 层站数: 9层9站 电梯编号:5# 设备注册代码
图片尺寸854x640
电梯层门锁解锁系统及电梯层门的制作方法
图片尺寸799x1000
力士坚电磁锁mc270l lcj磁力锁 力士坚带信号磁力锁
图片尺寸1000x4629
(2)电子锁:在机械钥匙开锁基础上增加电子钥匙(如刷卡,密码这2中基本
图片尺寸720x509
电梯轿门锁装置以及电梯的制作方法
图片尺寸818x1000
浅析轿门锁与开门限制装置的异同|轿厢|锁钩|电梯_网易订阅
图片尺寸555x450
电梯门锁 pb307轿门门锁 轿门机械联锁 宁波欧菱 门锁装置307锁钩
图片尺寸800x800
插入触发式层门门锁锁芯装置及电梯层门解锁及警示装置的制作方法
图片尺寸1000x700
适用展鹏门机0型电梯轿门锁fed-070左右开防扒装置机械门刀
图片尺寸800x800