电梯限位器原理

电梯限速器校验仪的技术创新电梯限速器2
图片尺寸1160x860
限位开关在电梯中的应用
图片尺寸508x707
限速器——安全钳联动试验剖析及实操!_郑州兆丰电梯有限公司
图片尺寸597x1120
电梯基础知识ppt
图片尺寸1080x810
电梯双向限速器的工作原理是什么?
图片尺寸706x514
电梯限速器安全钳联动试验规定
图片尺寸820x672
钢丝绳电动葫芦高度限位器的原理
图片尺寸412x379
接顺道闸光电限位开关 原理接线图动画
图片尺寸417x368
cn207258945u_一种甩片式电梯限速器有效
图片尺寸1195x1267
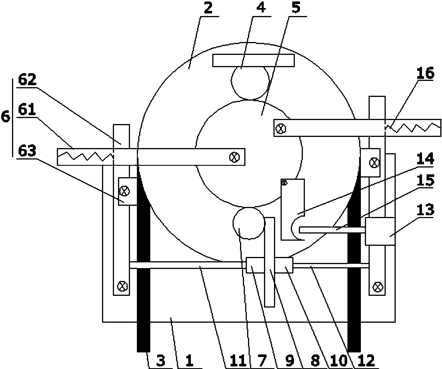
一种电梯双向限位器
图片尺寸1547x1291
限位开关工作原理是什么解析限位开关的原理很应用
图片尺寸417x309
限位开关
图片尺寸745x726
施工电梯及吊篮安全技术ppt
图片尺寸1080x810
非惯性系中的功能原理及应用
图片尺寸587x410
电梯定期检验中限速器安全钳联动机械故障分析
图片尺寸998x704
无机房限速器接线图
图片尺寸700x433
同样的道理,按哪层的按钮哪个小继电器起动,这一层的限位器才起做用
图片尺寸2989x3429
lxd1 断火限位器 master-80h
图片尺寸720x536
一种电梯双向限位器制造技术
图片尺寸1000x839
限位开关(行程开关)工作原理详述及电气原理图
图片尺寸465x275