电泳装置示意图

3.3电泳涂装的特点
图片尺寸768x454
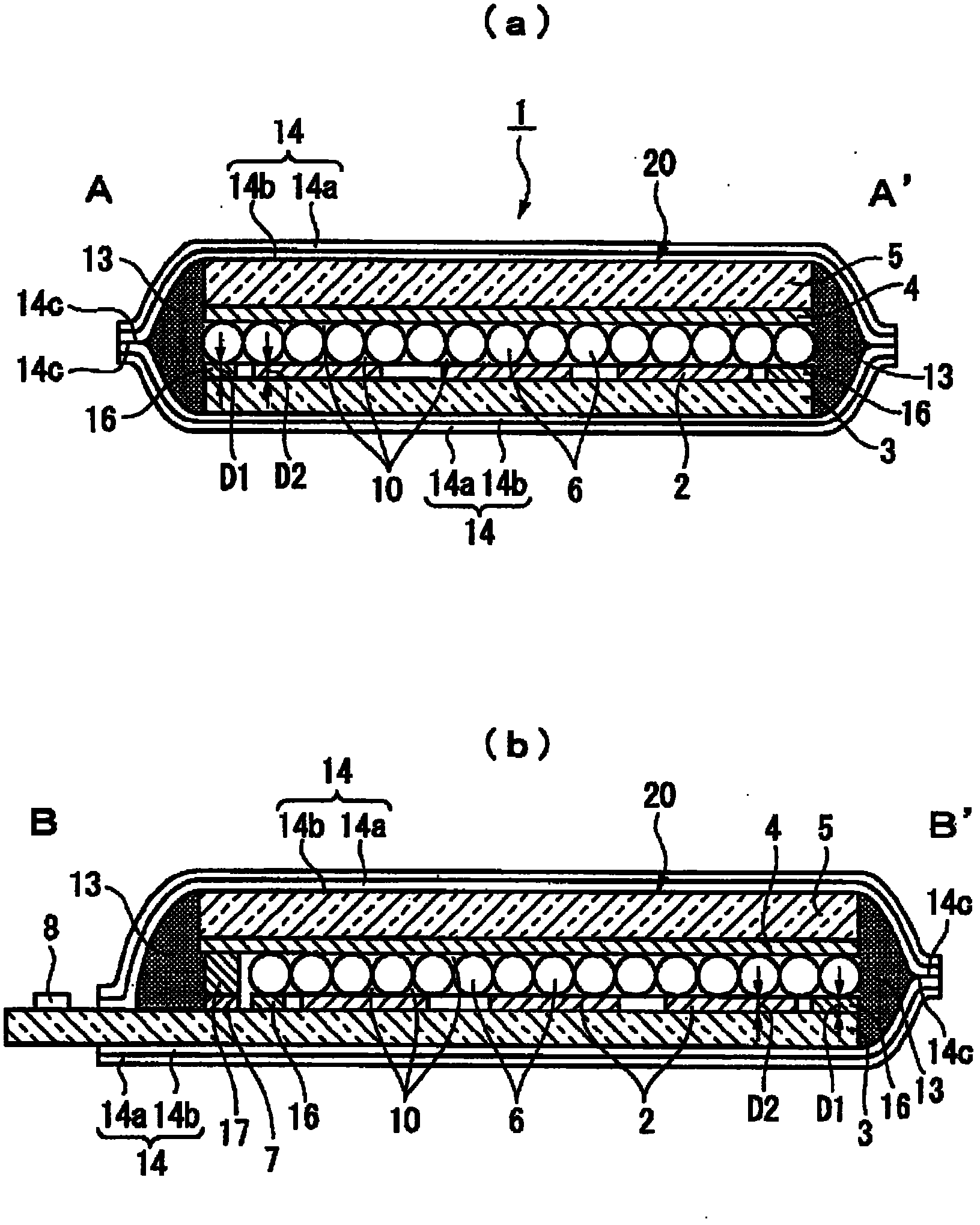
cn101739960b_电泳显示装置及其驱动方法有效
图片尺寸2498x1790
毛细管电泳仪结构示意图
图片尺寸900x851
纸电泳原理示意图
图片尺寸790x600
一种半变性琼脂糖凝胶电泳技术的改良
图片尺寸600x596
电泳涂装阳极设备
图片尺寸792x485
一种电泳装置-爱企查
图片尺寸1902x1054
凝胶电泳
图片尺寸725x787
技术详解dna琼脂糖凝胶电泳
图片尺寸1200x675
毛细管电泳
图片尺寸772x412
盘状聚丙烯酰胺凝胶电泳法分离血清蛋白实验的几点改进
图片尺寸500x349
电泳工艺示意图
图片尺寸729x500
电泳槽:毛细管电泳法的特点(1)
图片尺寸435x256
电泳显示:让墨水动起来 | 科学公园
图片尺寸478x324
前处理电泳原理图
图片尺寸820x296
图2自由流电泳原理图
图片尺寸352x309
图6-1 垂直式电泳槽装置示意图
图片尺寸312x308
cn105723212b_毛细管电泳装置
图片尺寸1000x664
毛细管电泳
图片尺寸654x473
cn102495507a_电泳显示装置和电子设备有效
图片尺寸1631x2038