电源适配器结构

macbook的电源适配器拆解:内部超级复杂
图片尺寸600x494
供应6v1a电源适配器 led 灯具 台灯适配器充电器
图片尺寸750x661
电源内部结构.doc
图片尺寸794x1123
applea171861wusbc苹果电源适配器拆解评测
图片尺寸1200x797
一种充电器,其结构由充电器主座,主座面盖,dc电源线,充电线路板,电池
图片尺寸1897x1601
电源
图片尺寸1017x1438
cn206864671u_一种新型电源适配器有效
图片尺寸1000x466
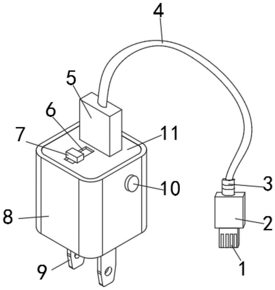
cn111509953a_一种防水防触电的电源适配器在审
图片尺寸948x1000
一种充电器
图片尺寸1924x1628
代工60w电源适配器,电源加工odm/oem,代工变压器,安规认证
图片尺寸489x205
供应9v1a 电源充电器 欧规 9v1000ma 电源适配器 电源开关
图片尺寸750x750
cn101136580a_交流适配器在审
图片尺寸2656x1931
一种防水防触电的电源适配器的制作方法
图片尺寸948x1000
一种具有密封卡扣结构的电源适配器的制作方法
图片尺寸1000x634
12v1a英规 过ce认证 插墙式恒流恒压灭蚊灯电源适配器
图片尺寸790x703
拆解报告apple苹果90w电源适配器a1097
图片尺寸1024x683
联想ls45wtcpdusbc电源适配器拆解
图片尺寸1200x800
doe六级能效ul认证按摩器材96w美规电源适配器12v8a电源适配器
图片尺寸750x665
看图识电源,电源适配器内部都有哪些元器件?
图片尺寸421x392
applea171861wusbc苹果电源适配器拆解评测
图片尺寸1200x797