电熨斗结构图

电熨斗的结构图
图片尺寸640x443![德国宝tt-1120蒸汽电熨斗使用说明书:[2]](https://i.ecywang.com/upload/1/img0.baidu.com/it/u=3014126420,2154318103&fm=253&fmt=auto&app=138&f=JPEG?w=500&h=709)
德国宝tt-1120蒸汽电熨斗使用说明书:[2]
图片尺寸1678x2381
电熨斗的工作原理
图片尺寸467x629
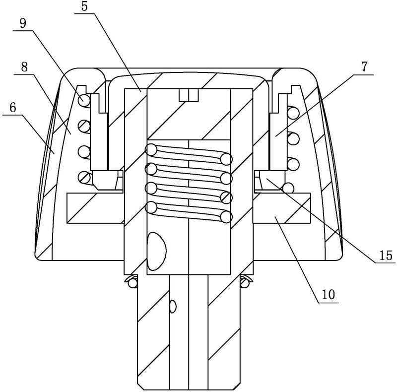
一种熨斗的制作方法
图片尺寸1000x753
飞利浦 电熨斗 gc1710
图片尺寸700x550
蒸汽电熨斗结构
图片尺寸483x314
电熨斗工作原理是什么 电熨斗工作原理图解
图片尺寸535x392
蒸汽喷雾型电熨斗结构图电熨斗的底板一般用铸铁经电镀,电抛光,或用铝
图片尺寸611x471
6个/箱 5604pcs/20ft 11466pcs/40hq 电熨斗的结构:1
图片尺寸717x517![伊莱克斯esi510蒸气式熨斗说明书:[1]](https://i.ecywang.com/upload/1/img1.baidu.com/it/u=753330364,3927736740&fm=253&fmt=auto&app=138&f=JPEG?w=354&h=500)
伊莱克斯esi510蒸气式熨斗说明书:[1]
图片尺寸1684x2381
电熨斗工作原理详解
图片尺寸564x333
电熨斗的坏处有哪些?揭秘常见的四大智商税陷阱_产品_衣物_蒸汽
图片尺寸804x455
一种拉簧拨式蒸汽熨斗
图片尺寸1477x1650
自动调温型电熨斗电路设计解析
图片尺寸500x332
辟缝斗小熨斗特殊熨斗 烫画机转印机热升华机烫标机
图片尺寸801x526
电熨斗|2|22
图片尺寸290x290
便携电熨斗的制作方法
图片尺寸598x1000
一种蒸汽电熨斗-爱企查
图片尺寸800x790
电熨斗|2|22
图片尺寸220x220
而提供一种结构简单,合理,方便使用和携带的迷你电熨斗
图片尺寸520x1000