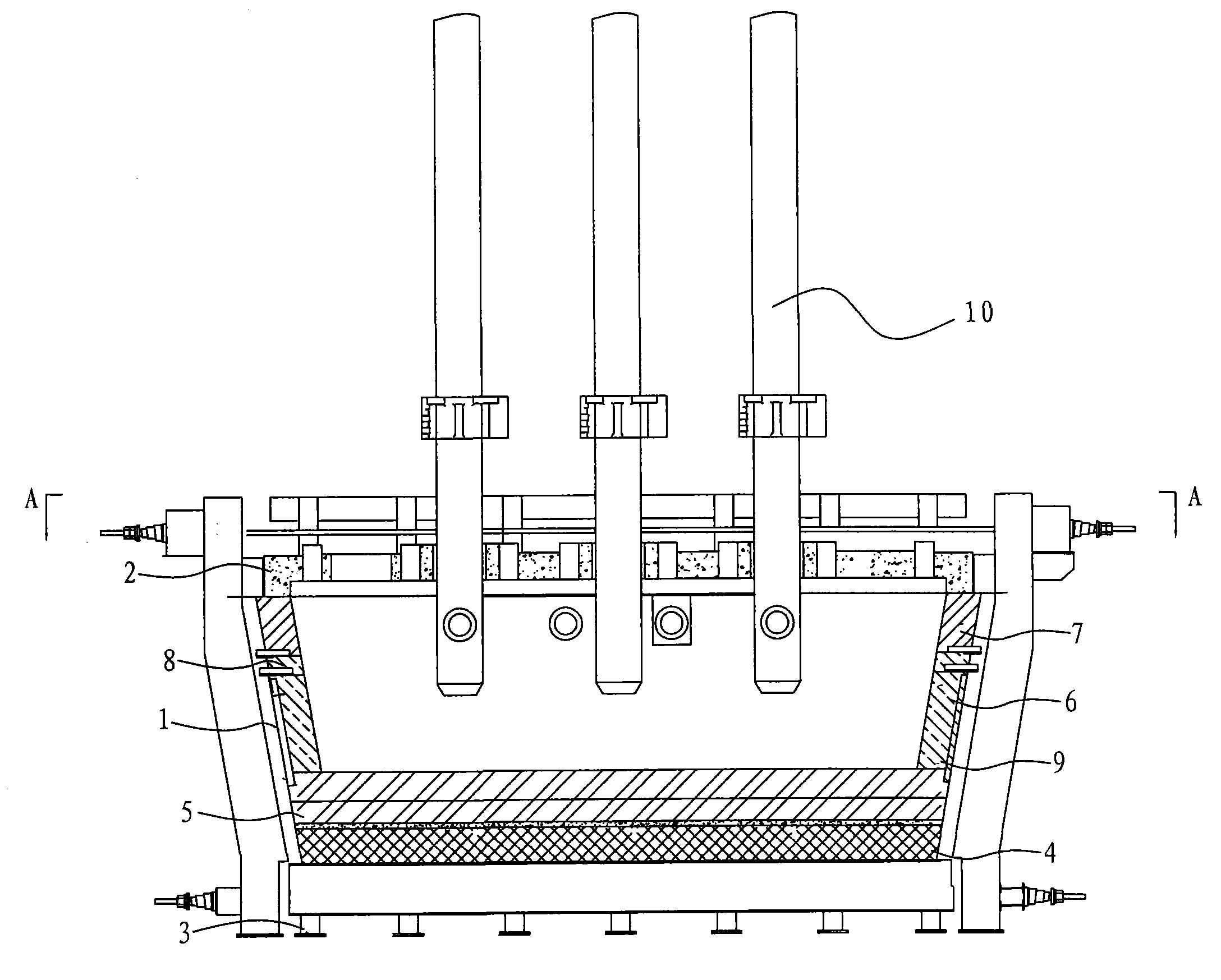
电石炉结构图

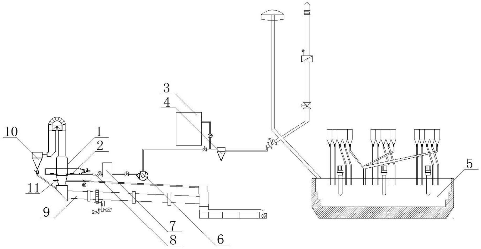
电石炉生产工艺及电石生产工艺流程图
图片尺寸792x497
一种氧热法电石炉-爱企查
图片尺寸456x456
石墨化电炉示意图
图片尺寸759x431
一种新型电石炉的制作方法
图片尺寸463x490
一种电石炉制造技术
图片尺寸1000x932
cn206705696u_一种电石炉有效
图片尺寸1000x936
一种电石炉炉气用于水泥生产的系统-爱企查
图片尺寸2016x1047
电石炉炉盖用什么耐火浇注料
图片尺寸537x332
一种高效节能环保型电石炉的制作方法
图片尺寸485x474
一种电极式电石炉制造技术
图片尺寸312x470
一种新型节能环保的高密封性电石炉的制作方法
图片尺寸1000x683
中频感应电炉结构
图片尺寸750x671
电炉
图片尺寸2176x1747
一种电石炉制造技术
图片尺寸1000x934
宜兴宇友供应-矿热炉电石炉--组合式把持器
图片尺寸501x800
电石炉余热锅炉
图片尺寸800x600
一种设有可调节式热解炉的电石的生产系统技术方案
图片尺寸942x1000
33000kva密闭电石炉cad图纸
图片尺寸820x580
cn201543821u_全纤维金刚石锯片氢气保护热压烧结电阻炉有效
图片尺寸1787x1980
原电解炉结构
图片尺寸975x658