电磁驱动装置

电磁驱动装置-柜式配件-气体灭火设备-产品中心-蚌埠依爱消防电子有限
图片尺寸2472x2120
电磁驱动器-消防
图片尺寸634x622
电磁阀驱动装置
图片尺寸968x1349
电磁驱动装置图纸合集的封面图
图片尺寸285x389
图 电磁驱动装置
图片尺寸1890x1136
在comsol中模拟电磁驱动装置下
图片尺寸600x364
电磁驱动装置
图片尺寸800x800
壁厚为1mm的1060铝合金管件,分析了采用不同驱动线圈时的轴向电磁力与
图片尺寸441x352
基于sw10的可变领域轮驱动电机设计模型电磁装置
图片尺寸820x735
供应电磁制动器
图片尺寸1024x769
直流电磁驱动装置电磁阀配件电启动头90n电磁铁气体灭火系统部件
图片尺寸800x800
ldhm型驱动装置
图片尺寸628x599
电磁制动器运行原理
图片尺寸395x269
电磁型驱动装置
图片尺寸426x453
架空高压输电线路巡检机器人的磁力驱动装置的制造方法
图片尺寸890x884
电磁阀,电磁型驱动装置
图片尺寸750x750
马达设计模型是指依据电磁感应定律实现电能转换或传递的一种电磁装置
图片尺寸820x707
基于sw10的可变领域轮驱动电机设计模型电磁装置
图片尺寸820x430
供应dzs3系列大功率电磁失电制动器
图片尺寸500x380
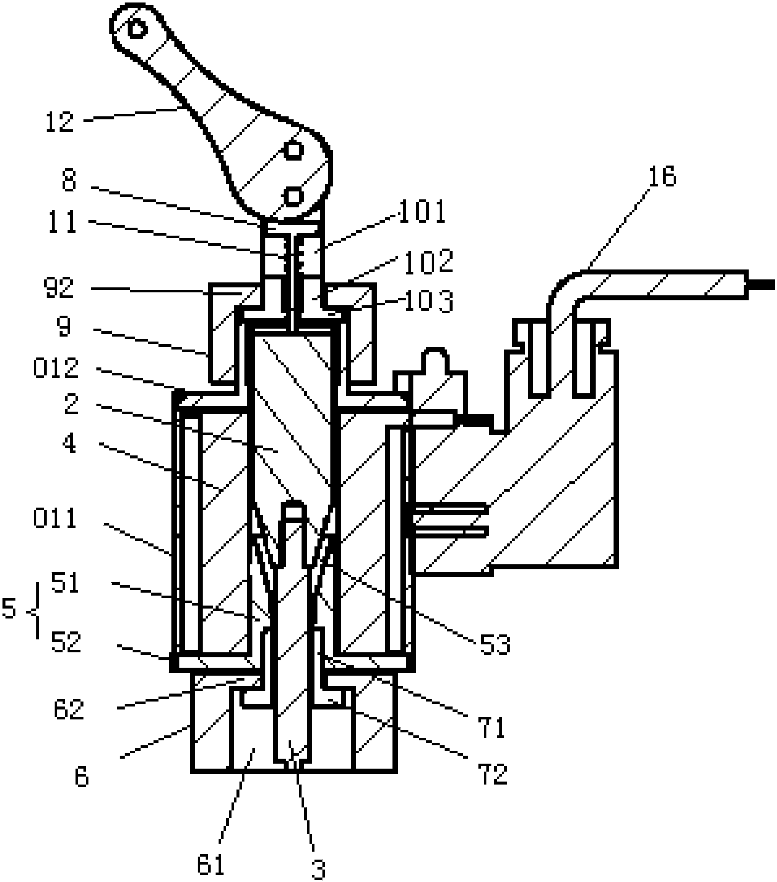
新型电磁铁及灭火系统用电磁驱动装置
图片尺寸1564x1774