电缆伸缩装置

一种电缆螺旋伸缩装置-爱企查
图片尺寸579x800
cn208707278u_电缆伸缩滑动装置
图片尺寸454x323
一种电力设备用可补偿电缆的伸缩量的紧固装置-爱企查
图片尺寸1809x947
电气工程:电缆桥架伸缩节安装施工工艺标准!值得收藏!
图片尺寸868x652
伸缩器的作用和组装说明.#图文伙伴计划#伸缩器也称伸缩节,膨 - 抖音
图片尺寸1706x1280
电缆伸缩连接装置
图片尺寸398x367
自动伸缩电线及气管装置/自创自动伸缩电缆机软件版本:solidworks文件
图片尺寸631x615
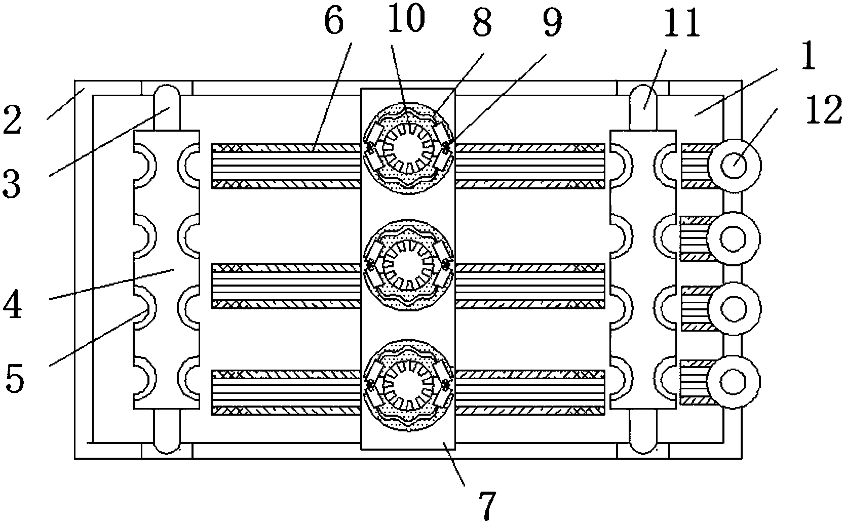
一种电缆伸缩缓冲装置的制作方法
图片尺寸1000x915
桥架伸缩节安装图片-北京京运伟业电缆桥架厂
图片尺寸623x467
主营生产五金汽保工具自动伸缩电缆卷轴工厂车间电鼓绕线器卷管器
图片尺寸1920x1920
一种电缆伸缩弧装置
图片尺寸1000x581
cn103199479a_电缆伸缩装置有效
图片尺寸1000x532
电缆及接头试验装置-爱企查
图片尺寸800x493
汽修电鼓卷线器自动伸缩卷管器30米大功率插座国标纯铜电缆卷盘器定制
图片尺寸750x750
厂家直销光纤电缆卷盘自动伸缩卷管器电缆收线机器弹簧卷线器自动收线
图片尺寸750x750
新能源充电枪电线平衡器 新款恒力发条收力平稳 家用电缆伸缩装置
图片尺寸1000x1000
一种电缆存放用自动收缩装置
图片尺寸1666x1033
伸缩器的特性是什么
图片尺寸640x853
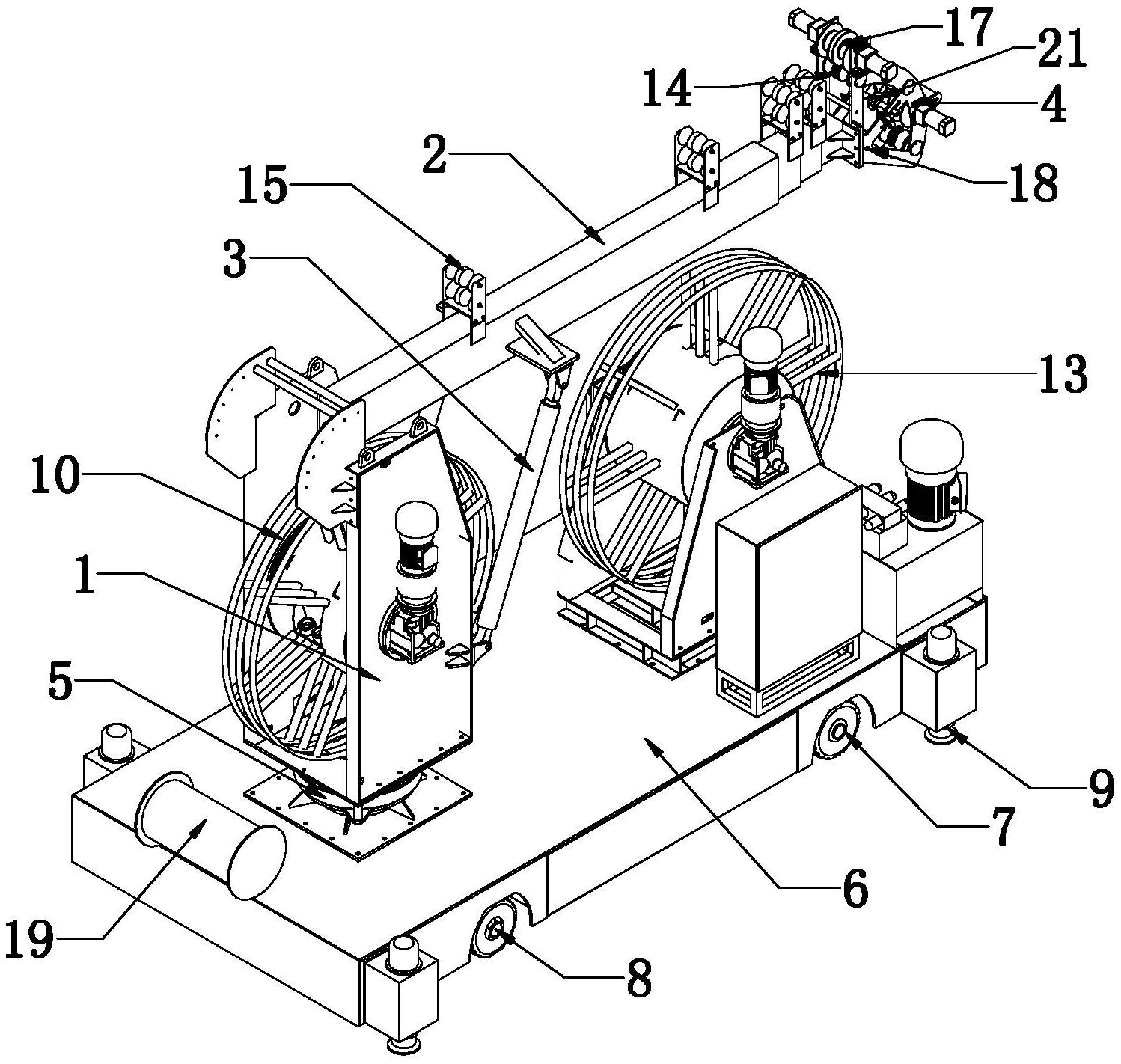
它包括支座,液压伸缩臂,液压支撑装置以及电缆输送机构,支座通过旋转
图片尺寸1498x1422
桥架伸缩节安装图片-北京京运伟业电缆桥架厂
图片尺寸640x282