电缆吊头

北京 预分支电缆吊头
图片尺寸500x371
中国尊垂吊电缆敷设近半北京新地标期待我们共同点亮
图片尺寸660x880
主干电缆吊头(含金属网套)
图片尺寸800x800
主干电缆吊头(含金属网套)
图片尺寸400x300
rvfg门吊电缆含钢丝绳
图片尺寸640x640
主干电缆吊头(含金属网套)
图片尺寸500x375
dgy10014电缆单轨吊电缆悬挂装置单轨吊
图片尺寸800x800
石圪台矿煤矿用电缆拖运设备 厂家直供井下辅助单轨吊
图片尺寸1843x937
电缆吊挂
图片尺寸750x750
矿用液压电缆单轨吊,又称"电缆拖运车",是一种利用悬挂轨道,以液压为
图片尺寸640x640
5帆布2寸水袋防汛65水龙带消防接口水枪头-阿里巴巴
图片尺寸750x1000
安康电线电缆厂家,安康预分支电缆
图片尺寸312x239
电缆拖运单轨吊 tdy100/14型矿用电缆拖运车
图片尺寸750x750
液压电缆单轨吊 电缆托运单轨吊 井下电缆托运单轨吊
图片尺寸750x750
中国尊垂吊电缆敷设近半北京新地标期待我们共同点亮
图片尺寸658x871
奋楫争先再扬帆!冀中股份大淑村矿全力奋战"双过半"
图片尺寸1280x959
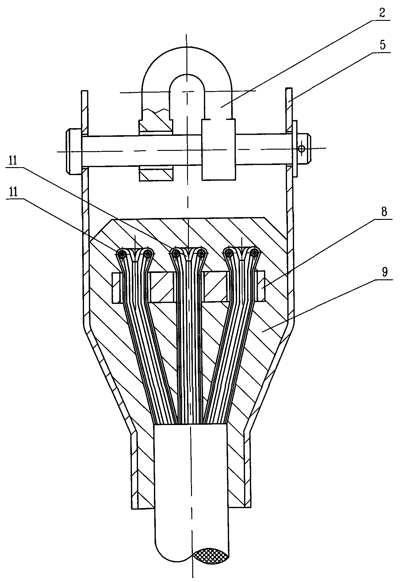
多芯分支电缆吊头装置
图片尺寸1311x1898
矿用液压电缆单轨吊,又称"电缆拖运车",是一种利用悬挂轨道,以液压为
图片尺寸640x480
山西tdy10014液压单轨吊矿用电缆单轨吊价格
图片尺寸800x800
电缆拖挂单轨吊 电缆单轨吊 矿用电缆液压拖运车
图片尺寸750x750