电缆垂直敷设

中国尊垂吊电缆敷设近半北京新地标期待我们共同点亮
图片尺寸658x871
关于电缆敷设的那些方式
图片尺寸701x484
电缆垂直敷设不规范,未绑扎,承重受力不均
图片尺寸2000x2666
超高层建筑竖井电缆敷设方法垂吊式电缆敷设法
图片尺寸1181x784
电缆敷设图片
图片尺寸2304x3072
电缆的4种敷设方式是有学问的你知道吗
图片尺寸550x366
京沈客专京冀段信号工艺室内篇
图片尺寸1999x1333
令人震撼的电缆敷设图
图片尺寸1080x1440
你必须要知道的电力工程中电力电缆敷设知识
图片尺寸582x327
金义东市域轨道交通塘综区间首条环网电缆顺利敷设
图片尺寸1080x810
及时贴上成品保护警语信号专业电缆支架安装排列整齐,光电缆敷设时
图片尺寸1080x1268
电缆敷设
图片尺寸1600x1200
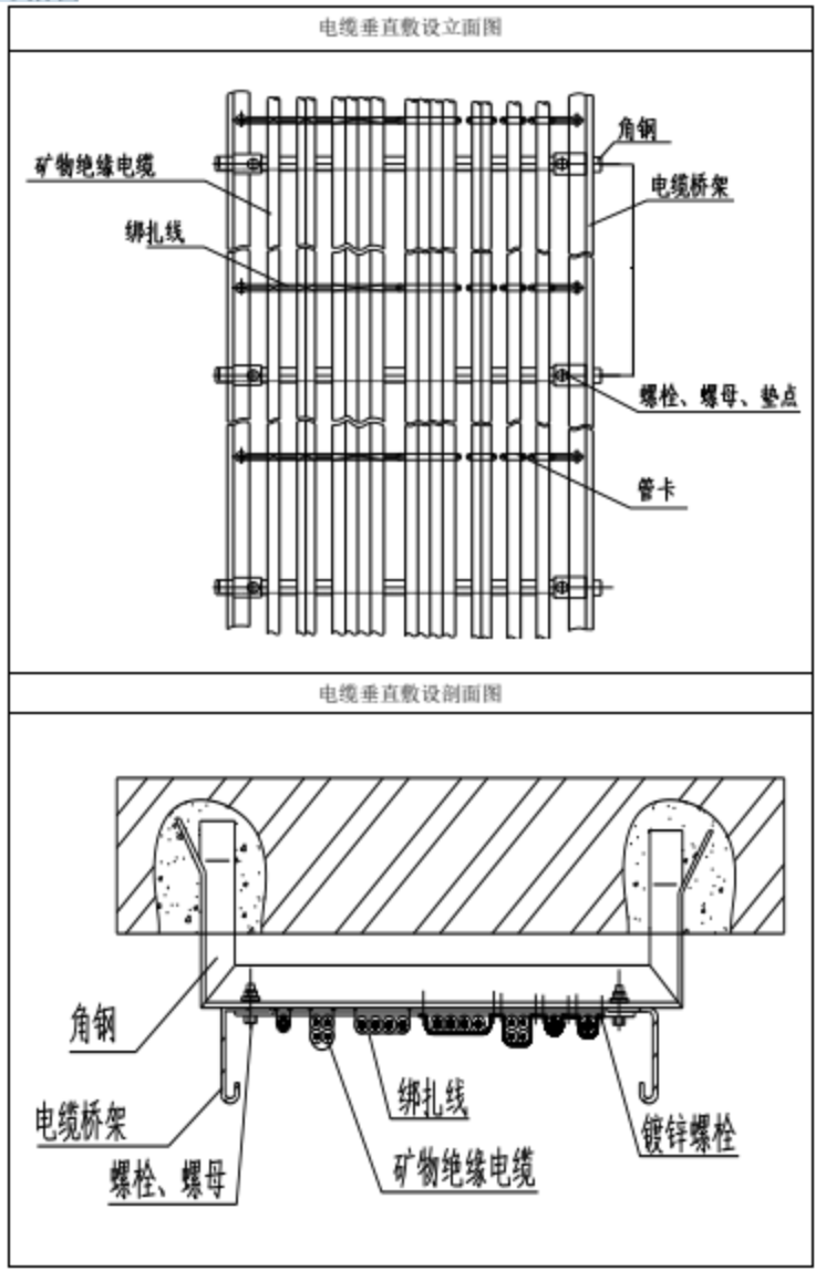
电缆沿桥架垂直敷设
图片尺寸746x1157
解读电缆敷设四种方式的施工要点
图片尺寸402x357
电工学园 | 电线电缆常识80问
图片尺寸460x307
电缆的4种敷设方式是有学问的你知道吗
图片尺寸640x480
电缆敷设4种方式的施工要点,收藏学习!
图片尺寸640x368
高压电缆借桥入岛 平潭首条220kv电缆进岛敷设
图片尺寸400x266
电缆的敷设方式,20个常见问题
图片尺寸750x478
矿物质电缆怎样敷设
图片尺寸500x332